甬矽电子获得实用新型专利授权:“衬底结合装置”
证券之星消息,根据天眼查APP数据显示甬矽电子(688362)新获得一项实用新型专利授权,专利名为“衬底结合装置”,专利申请号为CN202420767398.0,授权日为2025年5月6日。

图片来源于网络,如有侵权,请联系删除
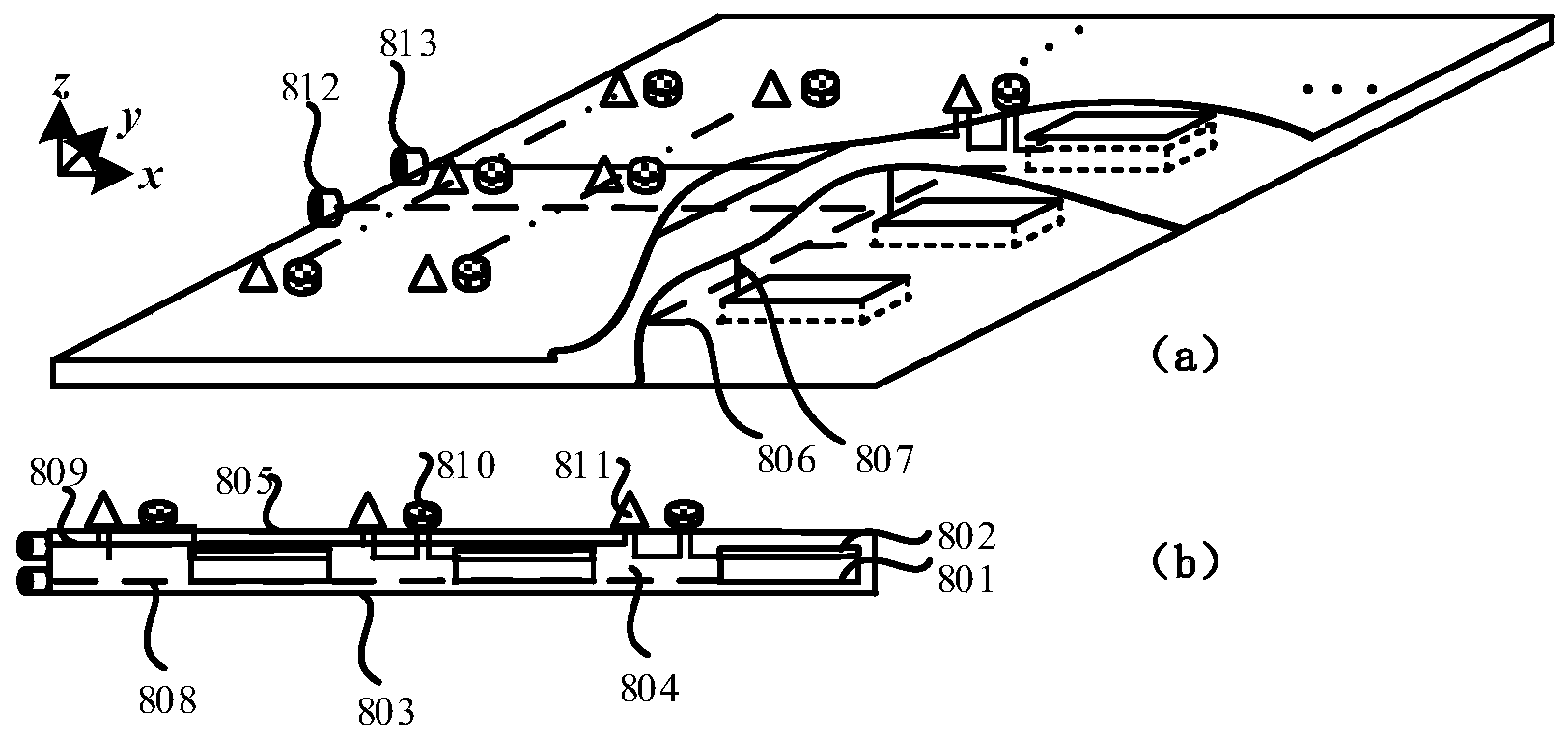
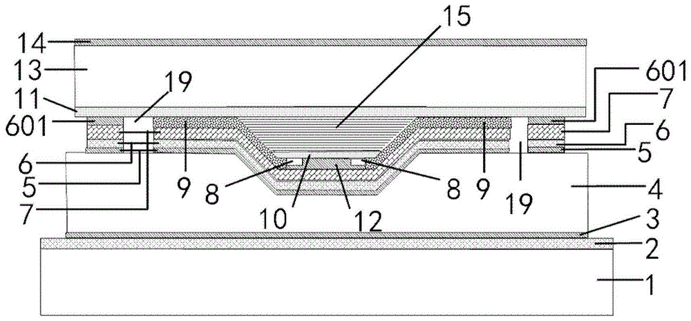
专利摘要:本实用新型提供了一种衬底结合装置,涉及封装技术领域,衬底结合装置包括基底治具和盖合治具,基底治具上设置有容纳槽,容纳槽的中部设置有用于适配承载衬底载板的承载台,盖合治具盖合在基底治具上,且盖合治具上设置有多个研磨滚轮,多个研磨滚轮沿一圆周设置,并对应于承载台的外缘,用于去除衬底载板边缘的胶层。相较于现有技术,本实用新型能够有效去除晶圆边缘残留胶层,避免残胶导致的拉扯问题,同时也避免了残胶污染制程环境。

图片来源于网络,如有侵权,请联系删除
今年以来甬矽电子新获得专利授权25个,较去年同期增加了66.67%。结合公司2024年年报财务数据,2024年公司在研发方面投入了2.17亿元,同比增49.29%。

图片来源于网络,如有侵权,请联系删除
数据来源:天眼查APP
以上内容为证券之星据公开信息整理,由AI算法生成(网信算备310104345710301240019号),不构成投资建议。
目录 返回
首页
