石头科技获得实用新型专利授权:“一种清洁设备”
证券之星消息,根据天眼查APP数据显示石头科技(688169)新获得一项实用新型专利授权,专利名为“一种清洁设备”,专利申请号为CN202421336200.X,授权日为2025年5月6日。

图片来源于网络,如有侵权,请联系删除
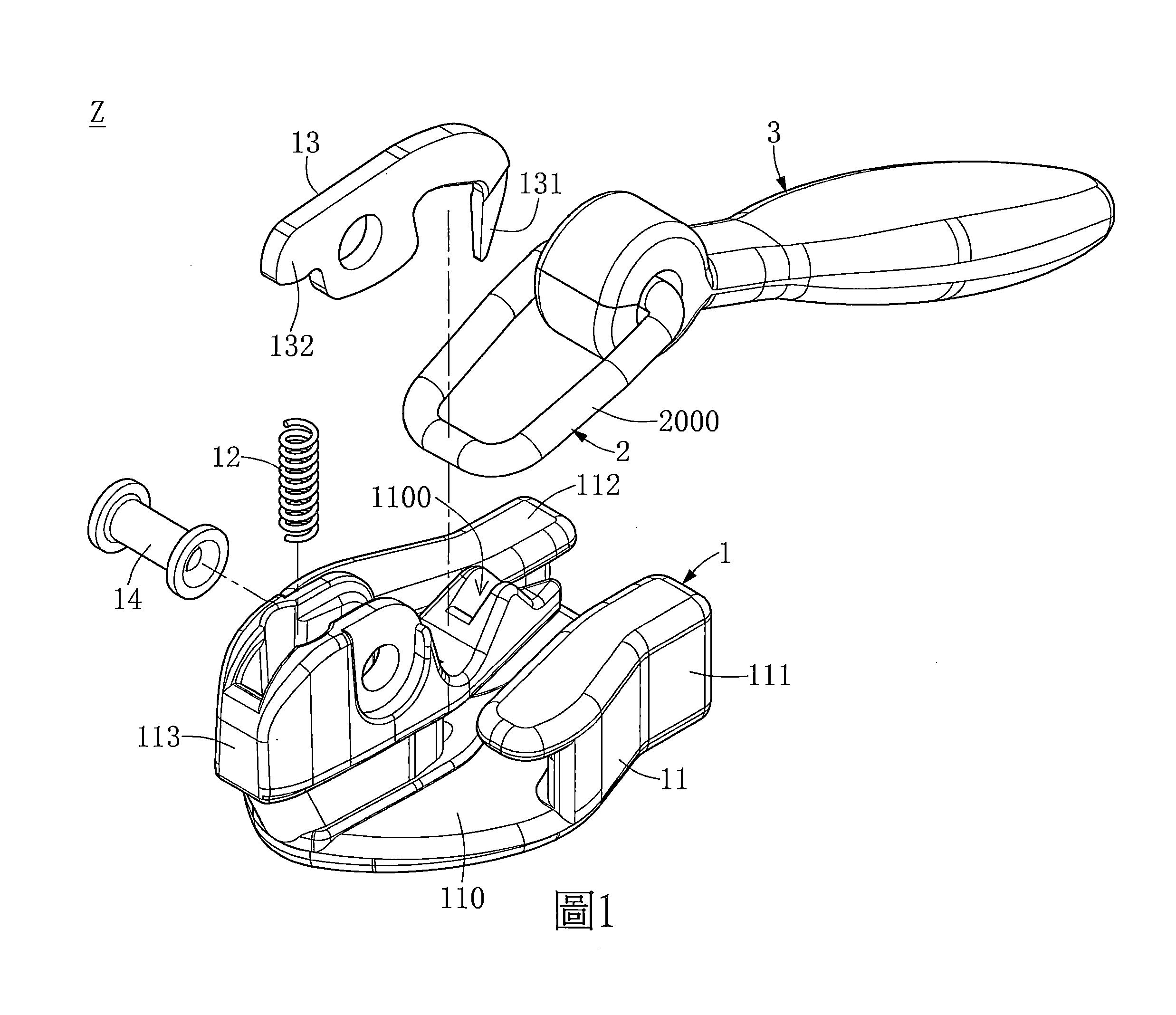
专利摘要:本实用新型涉及清洁机器人的技术领域,公开了一种清洁设备,包括设备本体、清洁组件、吸水组件和干燥组件,清洁组件适用于对操作面进行清洁;吸水组件适用于对操作面上的水进行吸取;干燥组件适用于对操作面进行干燥;清洁组件、吸水组件和干燥组件设置在设备本体上。本实用新型所述的一种清洁设备,通过清洁组件可以对操作面的灰尘等进行清理,通过吸水组件可以对操作面的水进行吸取,通过干燥组件可以对操作面进行干燥。本实用新型实施例通过清洁组件、吸水组件和干燥组件的配合,以对操作面进行清理和干燥,避免清洁后的操作面残留水,影响操作面的清洁效果。

图片来源于网络,如有侵权,请联系删除
今年以来石头科技新获得专利授权138个,较去年同期增加了220.93%。结合公司2024年年报财务数据,2024年公司在研发方面投入了9.71亿元,同比增56.93%。
数据来源:天眼查APP
以上内容为证券之星据公开信息整理,由AI算法生成(网信算备310104345710301240019号),不构成投资建议。
目录 返回
首页
