永臻股份获得实用新型专利授权:“环保节能液氩站”
证券之星消息,根据天眼查APP数据显示永臻股份(603381)新获得一项实用新型专利授权,专利名为“环保节能液氩站”,专利申请号为CN202421688191.0,授权日为2025年5月27日。

图片来源于网络,如有侵权,请联系删除
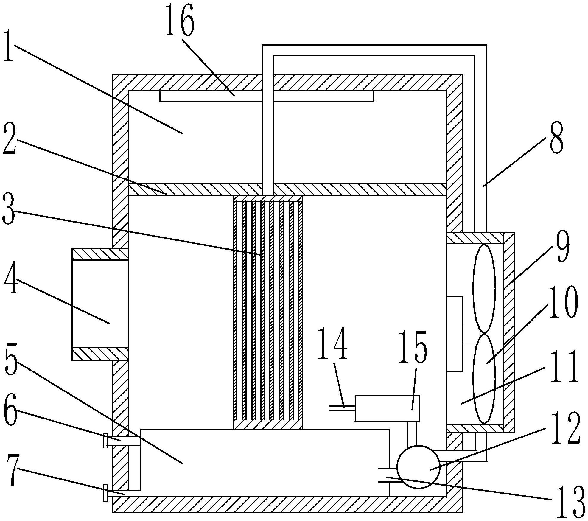
专利摘要:本实用新型公开了环保节能液氩站,属于液氩站技术领域,包括基台;所述基台从左至右依次固定安装有低温储罐、第一低温泵和气化机构,基台的前侧安装有充氩;低温储罐和第一低温泵之间通过管道和阀门连通,第一低温泵和气化机构之间通过管道和阀门连通;气化机构和充氩之间通过管道和阀门连通;所述气化机构包括气化组件和除霜组件,基台的右侧安装有两组气化组件,两组气化组件之间通过管道连通,气化组件通过阀门和管道与第一低温泵和充氩连通;两组气化组件之间安装有用于除霜的除霜组件。通过上述方式,调整外部空气流经两组气化组件的顺序,依次对两组气化组件进行除霜;通过一组气化组件干燥空气对另一组气化组件进行除霜,节约能耗。

图片来源于网络,如有侵权,请联系删除
今年以来永臻股份新获得专利授权34个,较去年同期增加了1033.33%。结合公司2024年年报财务数据,2024年公司在研发方面投入了9654.81万元,同比增44.45%。

图片来源于网络,如有侵权,请联系删除
数据来源:天眼查APP
以上内容为证券之星据公开信息整理,由AI算法生成(网信算备310104345710301240019号),不构成投资建议。
目录 返回
首页
