龙净环保获得发明专利授权:“一种金属滤袋、金属滤袋的清灰方法及除尘器”
证券之星消息,根据天眼查APP数据显示龙净环保(600388)新获得一项发明专利授权,专利名为“一种金属滤袋、金属滤袋的清灰方法及除尘器”,专利申请号为CN202110210932.9,授权日为2025年5月27日。

图片来源于网络,如有侵权,请联系删除
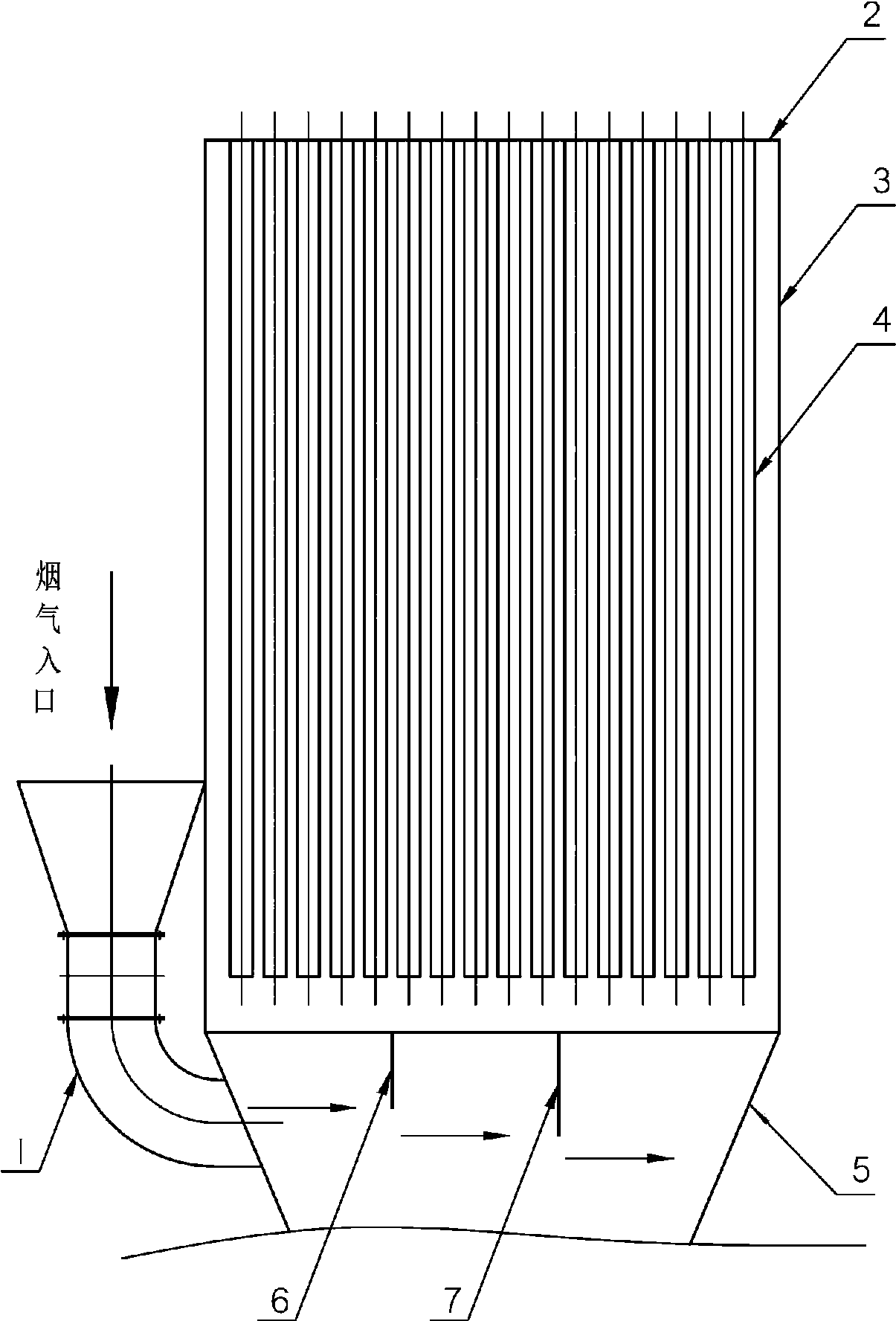
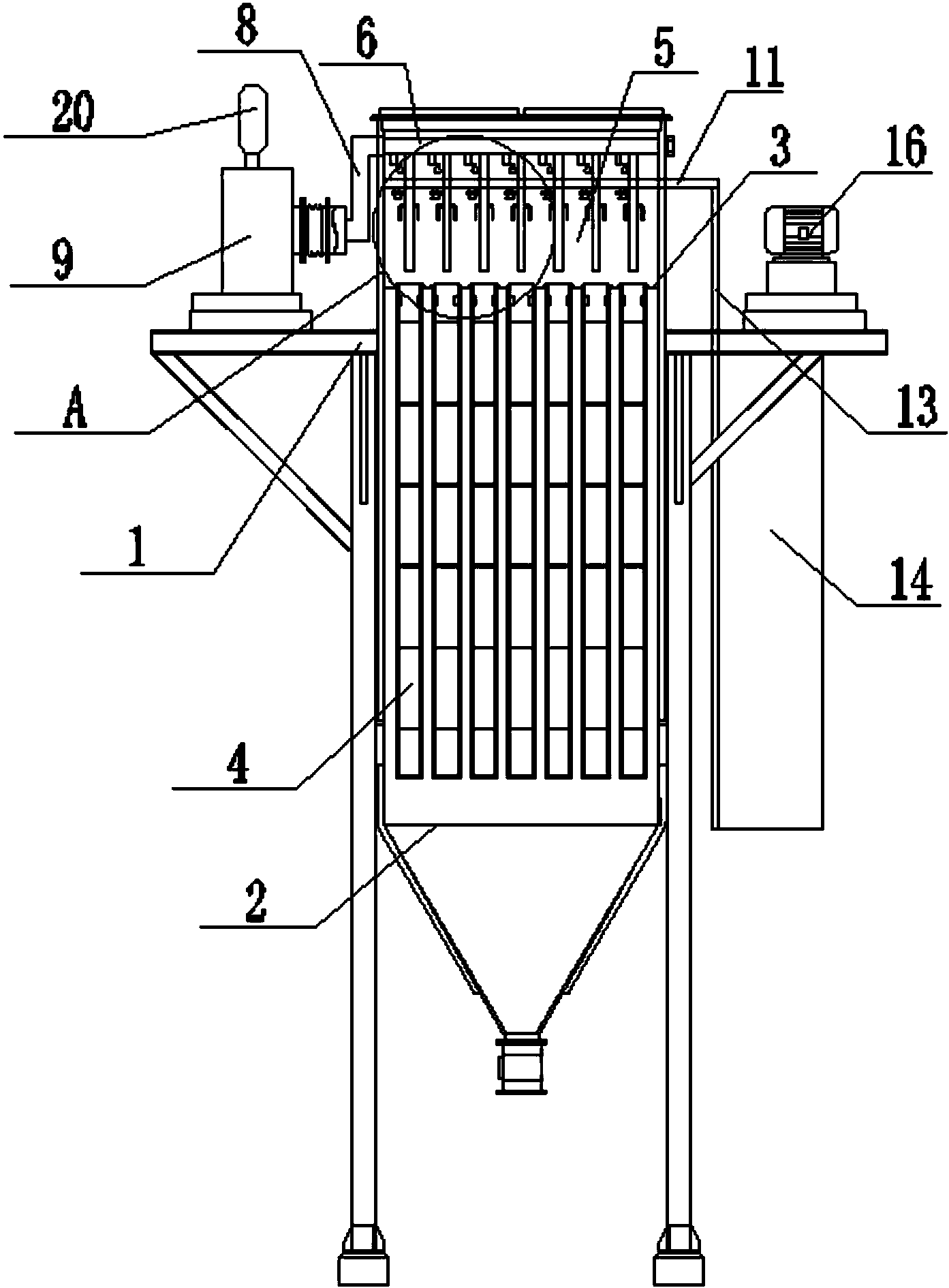
专利摘要:本发明提供一种金属滤袋、金属滤袋的清灰方法及除尘器,金属滤袋包括金属滤网和折叠层,若干金属滤网和折叠层交替连接围成筒状的滤网单元;金属滤袋还包括折叠衔接部,若干滤网单元沿长度方向依次相连,两个相邻滤网单元对应的两个金属滤网之间通过折叠衔接部相连,并能够绕折叠衔接部旋转,以拉直或折叠。采用如上结构,各个通过折叠衔接部相连的金属滤网沿相反方向绕折叠衔接部旋转,通过这种方式,金属滤袋整体能够折叠,在折叠状态下,各金属滤网叠在一起,金属滤袋的体积较小且不易挤压变形,方便运输;在安装时只需将折叠状态的金属滤袋提起,金属滤网由重力作用绕折叠衔接部旋转,自动伸直,便于安装。

图片来源于网络,如有侵权,请联系删除
今年以来龙净环保新获得专利授权46个,较去年同期减少了8%。结合公司2024年年报财务数据,2024年公司在研发方面投入了4.47亿元,同比减6.08%。

图片来源于网络,如有侵权,请联系删除
数据来源:天眼查APP
以上内容为证券之星据公开信息整理,由AI算法生成(网信算备310104345710301240019号),不构成投资建议。
目录 返回
首页
