巨力索具获得实用新型专利授权:“一种通用型履带拆装装置”
证券之星消息,根据天眼查APP数据显示巨力索具(002342)新获得一项实用新型专利授权,专利名为“一种通用型履带拆装装置”,专利申请号为CN202422037114.5,授权日为2025年6月3日。

图片来源于网络,如有侵权,请联系删除
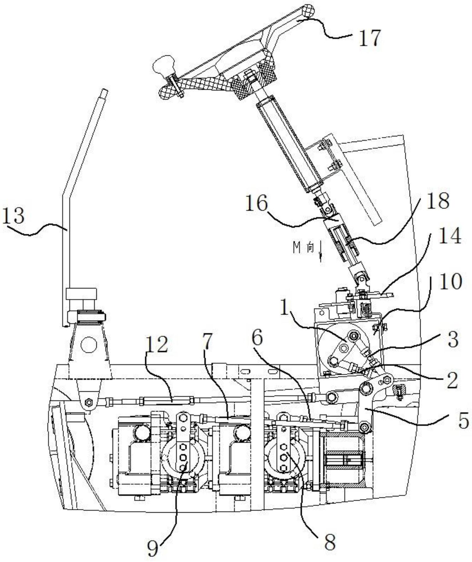
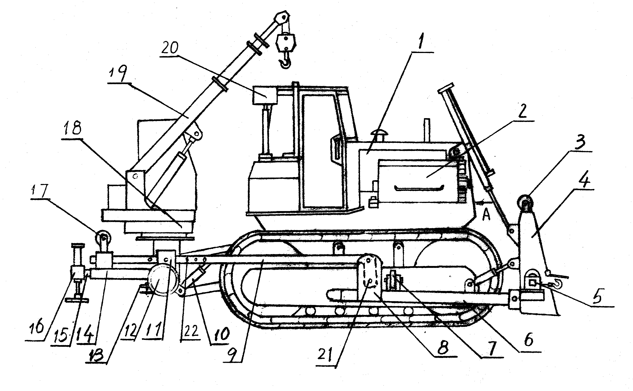
专利摘要:本实用新型公开了一种通用型履带拆装装置,包括自平衡式拆卸组件和可调式框架,所述自平衡式拆卸组件和可调式框架分别与单体双头液压油缸相配合,自平衡式拆卸组件包括固定块、连接块和小轴,可调式框架包括横杆和钩头。本实用新型针对安装和拆卸分别设置了自平衡式拆卸组件和可调式框架,并设置单体双头液压油缸相配合,拆卸时,通过上连接板、下连接板和小轴的带动使单体双头液压油缸在伸展时将端联器从端联器连接轴上拔出,安装时,也通过单体双头液压油缸的伸展使同侧短杆之间的间距缩小,将两个端联器连接轴相向拉紧,便于使端联器套入端联器连接轴,拆装工具可适配多种型号的端联器及其连接轴,型号限制度不高,具有较强的通用性。

图片来源于网络,如有侵权,请联系删除
今年以来巨力索具新获得专利授权18个,较去年同期减少了18.18%。结合公司2024年年报财务数据,2024年公司在研发方面投入了3288.06万元,同比增48.5%。

图片来源于网络,如有侵权,请联系删除
数据来源:天眼查APP
以上内容为证券之星据公开信息整理,由AI算法生成(网信算备310104345710301240019号),不构成投资建议。
目录 返回
首页
