盈动财经

宁德时代获得实用新型专利授权:“电池单体、电池装置、用电设备”

06 06月
作者:小微|{/foreach}{/if}

证券之星消息,根据天眼查APP数据显示宁德时代(300750)新获得一项实用新型专利授权,专利名为“电池单体、电池装置、用电设备”,专利申请号为CN202520480033.4,授权日为2025年6月6日。

宁德时代获得实用新型专利授权:“电池单体、电池装置、用电设备”
图片来源于网络,如有侵权,请联系删除

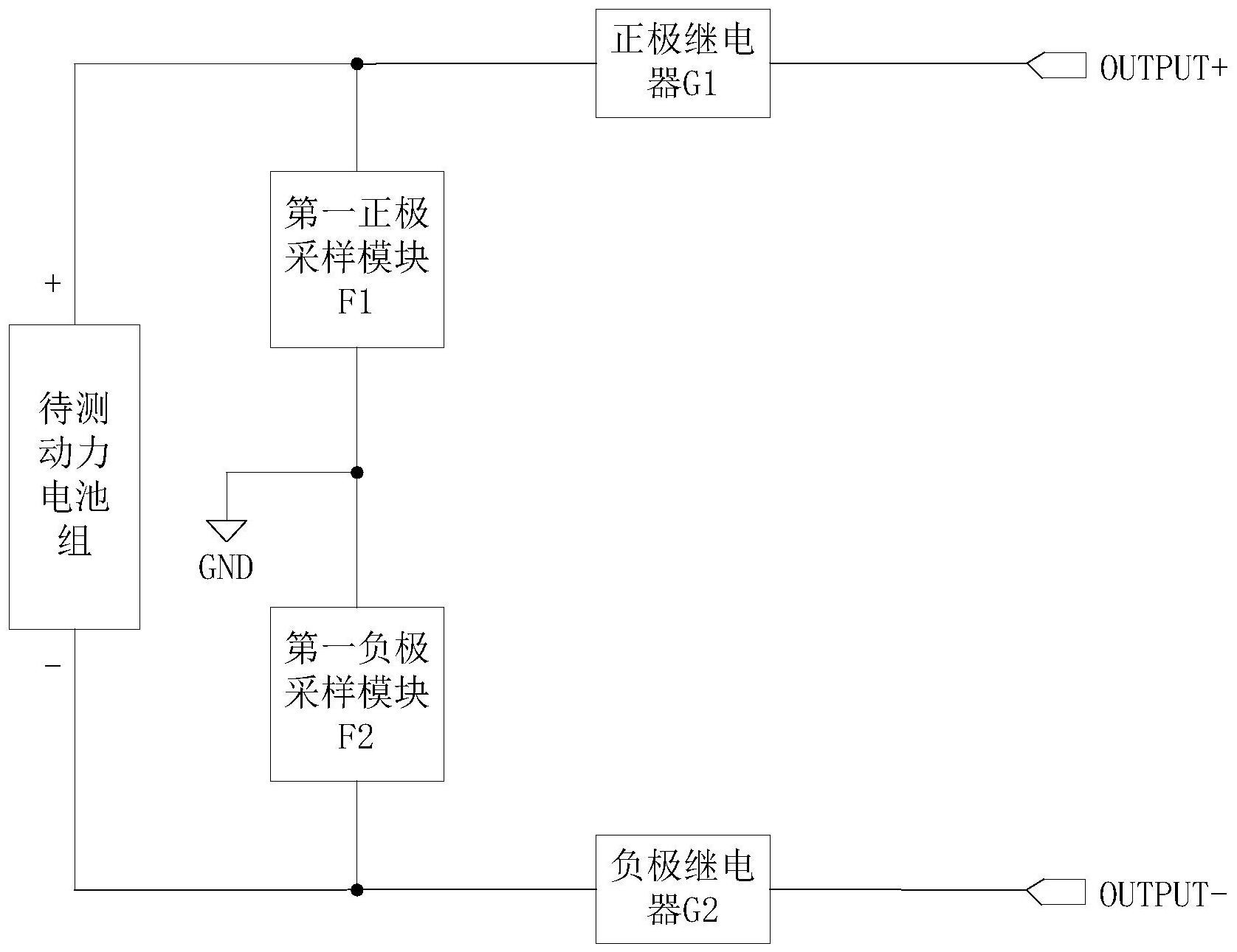
专利摘要:本申请提供了一种电池单体、电池装置、用电设备;电池单体包括壳体和端盖;壳体包括第一侧壁;第一侧壁为环状结构;端盖盖设于壳体的一端;端盖的边缘向靠近第一侧壁的方向弯折形成第二侧壁;其中,第二侧壁靠近第一侧壁的端面与第一侧壁靠近端盖的端面贴合并固定连接,端盖的切割面与第一侧壁靠近端盖的端面贴合并固定连接,降低了端盖的切割面裸露在外,进而降低了端盖的切割面的边缘的直角状结构成为生锈、腐蚀的切入点,有利于提高端盖与壳体配合形成的外壳结构的防锈性能。

宁德时代获得实用新型专利授权:“电池单体、电池装置、用电设备”
图片来源于网络,如有侵权,请联系删除

今年以来宁德时代新获得专利授权1974个,较去年同期增加了30.99%。结合公司2024年年报财务数据,2024年公司在研发方面投入了186.07亿元,同比增1.37%。

宁德时代获得实用新型专利授权:“电池单体、电池装置、用电设备”
图片来源于网络,如有侵权,请联系删除

数据来源:天眼查APP

以上内容为证券之星据公开信息整理,由AI算法生成(网信算备310104345710301240019号),不构成投资建议。

浏览63k
返回
目录
返回
首页
央行将开展10000亿元买断式逆回购操作,期限为3个月 科技创新债券二级市场交投活跃 5月份成交额突破2000亿元

Copyright © 2024 dw 版权所有

备案号: 蜀ICP备2024051291号-17

盈动财经专业为您提供视野洞察、能源期货、黄金市场、金融市场、财经专题等财经方面资讯,盈动财经是一个专业财经领域资讯服务者。

本站部分内容为转载,不代表本站立场,如有侵权请联系处理。