盈动财经

炜冈科技获得实用新型专利授权:“含色组固化的印刷设备”

07 06月
作者:小微|{/foreach}{/if}

证券之星消息,根据天眼查APP数据显示炜冈科技(001256)新获得一项实用新型专利授权,专利名为“含色组固化的印刷设备”,专利申请号为CN202422342711.9,授权日为2025年6月6日。

炜冈科技获得实用新型专利授权:“含色组固化的印刷设备”
图片来源于网络,如有侵权,请联系删除

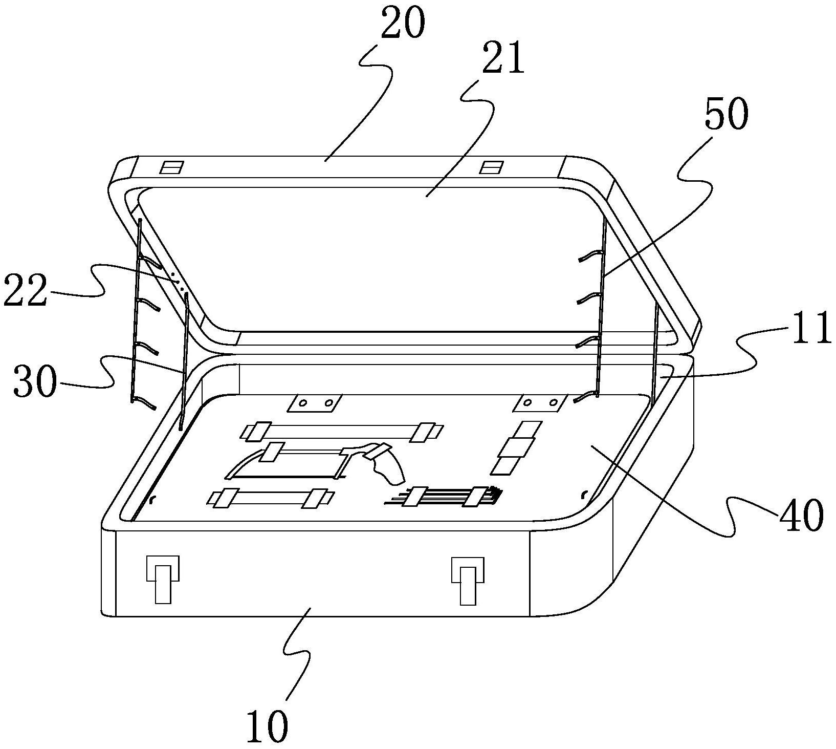
专利摘要:本实用新型涉及含色组固化的印刷设备,其印刷机组的机组单元相互之间前后排列,印刷机组的前侧为承印物输入侧,印刷机组的后侧为承印物输出侧,各机组单元的工作模块含印刷机构、单元固化机构和单元浮动机构;单元浮动机构的单元浮动座上设单元前浮动辊和单元后浮动辊,各个机组单元分别含单元前牵引装置和单元后牵引装置,其结构相对简洁,甚至在印刷机组的前后侧无需额外配置承印物主牵引结构,而且承印物可以根据不同需求进行不同路径走料绕设,既可以满足连续式印刷,也可以满足间歇式印刷,并且连续式印刷、间歇式印刷中具有可以共用的结构,使得印刷设备相对紧凑,无需购置多个印刷设备,使用场地要求也相对较低,实现一机多用。

炜冈科技获得实用新型专利授权:“含色组固化的印刷设备”
图片来源于网络,如有侵权,请联系删除

今年以来炜冈科技新获得专利授权7个,较去年同期增加了75%。结合公司2024年年报财务数据,2024年公司在研发方面投入了3462.96万元,同比增3.51%。

炜冈科技获得实用新型专利授权:“含色组固化的印刷设备”
图片来源于网络,如有侵权,请联系删除

数据来源:天眼查APP

以上内容为证券之星据公开信息整理,由AI算法生成(网信算备310104345710301240019号),不构成投资建议。

浏览50.2k
返回
目录
返回
首页
尽管国际铀市场不稳,纳米比亚中核罗辛铀矿表现依旧强劲 科技创新债券发行新规“满月” 超4000亿元资金滴灌硬科技 一二级市场联动激活创新生态

Copyright © 2024 dw 版权所有

备案号: 蜀ICP备2024051291号-17

盈动财经专业为您提供视野洞察、能源期货、黄金市场、金融市场、财经专题等财经方面资讯,盈动财经是一个专业财经领域资讯服务者。

本站部分内容为转载,不代表本站立场,如有侵权请联系处理。