盈动财经

横店东磁获得发明专利授权:“磁芯卡扣闭合力测试装置及方法”

07 06月
作者:小微|{/foreach}{/if}

证券之星消息,根据天眼查APP数据显示横店东磁(002056)新获得一项发明专利授权,专利名为“磁芯卡扣闭合力测试装置及方法”,专利申请号为CN202410983569.8,授权日为2025年6月6日。

横店东磁获得发明专利授权:“磁芯卡扣闭合力测试装置及方法”
图片来源于网络,如有侵权,请联系删除

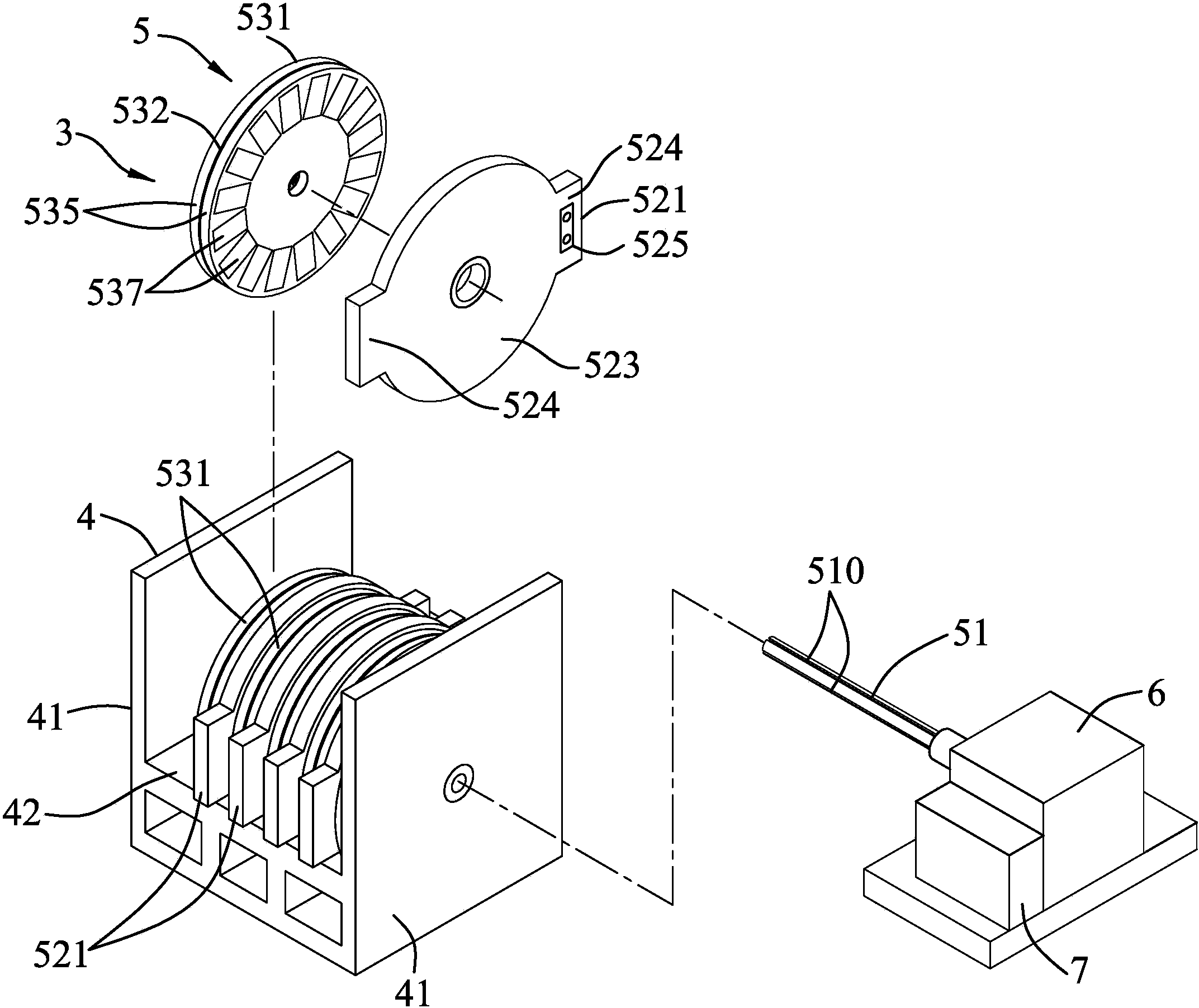
专利摘要:本发明涉及磁芯制造的技术领域,具体提出了一种磁芯卡扣闭合力测试装置及方法。磁芯卡扣闭合力测试装置包括支撑架、调试台、压力传感器、传力组件和施压件;调试台与支撑架围成容置空间,内部安装有压力传感器和传力组件;传力组件具有第一抵压部和第二抵压部,二者和调试台上表面位于同一水平面,并用于放置磁芯卡扣,第一抵压部和第二抵压部与磁芯卡扣的两端抵压连接,施压件用于向下抵压磁芯卡扣的中部拱起部位。在本发明中,将磁芯卡扣待测试的闭合力转化为压力,测试方便,容易量化,为选取磁芯卡扣提供依据;另外,施压件施加的多余压力会被调试台承受,因此压力传感器所获得的压力只与磁芯卡扣变形所产生的力相关,测量精准。

横店东磁获得发明专利授权:“磁芯卡扣闭合力测试装置及方法”
图片来源于网络,如有侵权,请联系删除

今年以来横店东磁新获得专利授权59个,较去年同期增加了40.48%。结合公司2024年年报财务数据,2024年公司在研发方面投入了7.22亿元,同比减17.66%。

数据来源:天眼查APP

以上内容为证券之星据公开信息整理,由AI算法生成(网信算备310104345710301240019号),不构成投资建议。

浏览55.5k
返回
目录
返回
首页
尽管国际铀市场不稳,纳米比亚中核罗辛铀矿表现依旧强劲 科技创新债券发行新规“满月” 超4000亿元资金滴灌硬科技 一二级市场联动激活创新生态

Copyright © 2024 dw 版权所有

备案号: 蜀ICP备2024051291号-17

盈动财经专业为您提供视野洞察、能源期货、黄金市场、金融市场、财经专题等财经方面资讯,盈动财经是一个专业财经领域资讯服务者。

本站部分内容为转载,不代表本站立场,如有侵权请联系处理。