盈动财经

迦南科技获得实用新型专利授权:“一种悬挂式焊接工具架”

10 06月
作者:小微|{/foreach}{/if}

证券之星消息,根据天眼查APP数据显示迦南科技(300412)新获得一项实用新型专利授权,专利名为“一种悬挂式焊接工具架”,专利申请号为CN202421909321.9,授权日为2025年6月10日。

迦南科技获得实用新型专利授权:“一种悬挂式焊接工具架”
图片来源于网络,如有侵权,请联系删除

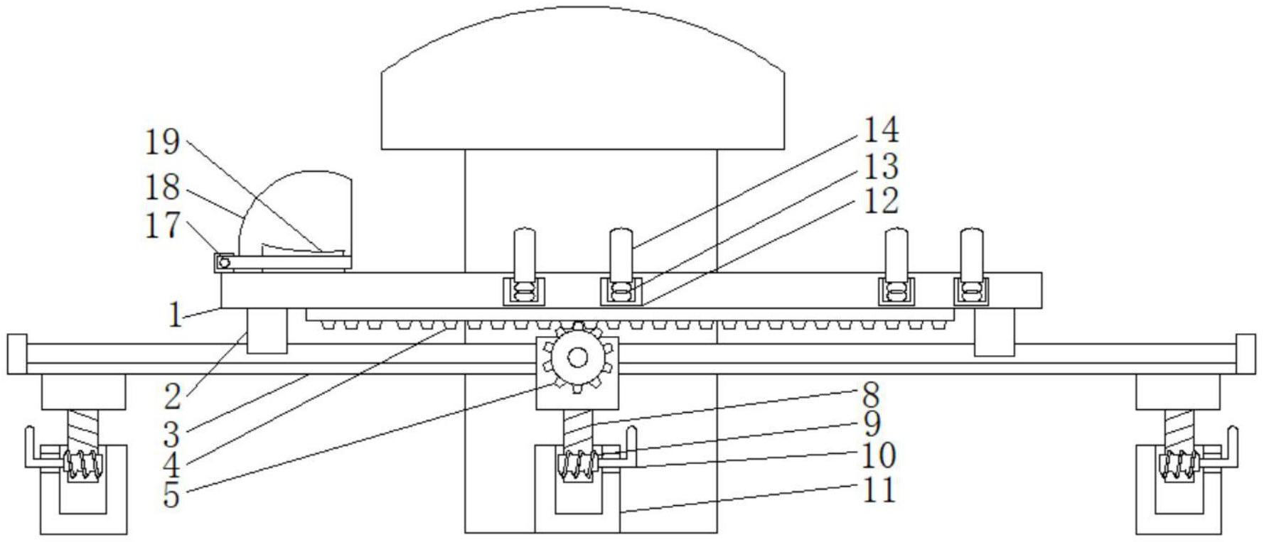
专利摘要:本实用新型具体涉及一种悬挂式焊接工具架,包括架体,所述架体设置有若干个沿第一方向A延伸的位孔槽,所述位孔槽包括第一位孔槽组、第二位孔槽组、第三位孔槽组、第四位孔槽组,本结构综合考虑了焊接工艺相关工具的配重、大小、使用频率后进行如上的多孔位架体设计,充分利用了架体的内部空间,榔头、螺丝刀、大力钳、扳手等可沿第一方向A装入对应的位孔槽中,两侧半圆槽的设置可用于摆放手持磨光机;各工具位置易于标识,使用过程中极大地节约了工具取用时间。

迦南科技获得实用新型专利授权:“一种悬挂式焊接工具架”
图片来源于网络,如有侵权,请联系删除

今年以来迦南科技新获得专利授权32个,较去年同期增加了88.24%。结合公司2024年年报财务数据,2024年公司在研发方面投入了8075.57万元,同比减3.59%。

迦南科技获得实用新型专利授权:“一种悬挂式焊接工具架”
图片来源于网络,如有侵权,请联系删除

数据来源:天眼查APP

以上内容为证券之星据公开信息整理,由AI算法生成(网信算备310104345710301240019号),不构成投资建议。

浏览50.2k
返回
目录
返回
首页
交易商协会:科技创新债券发行超3700亿元 智利5月通胀数据符合预期 年通胀为4.4%

Copyright © 2024 dw 版权所有

备案号: 蜀ICP备2024051291号-17

盈动财经专业为您提供视野洞察、能源期货、黄金市场、金融市场、财经专题等财经方面资讯,盈动财经是一个专业财经领域资讯服务者。

本站部分内容为转载,不代表本站立场,如有侵权请联系处理。