京东方A获得发明专利授权:“显示基板及其检测裂纹的方法、显示面板”
证券之星消息,根据天眼查APP数据显示京东方A(000725)新获得一项发明专利授权,专利名为“显示基板及其检测裂纹的方法、显示面板”,专利申请号为CN202111180828.6,授权日为2025年6月17日。

图片来源于网络,如有侵权,请联系删除
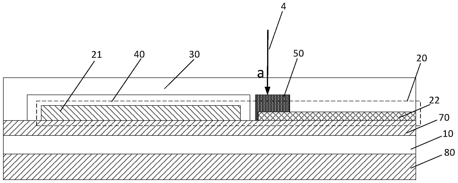
专利摘要:本发明提供一种显示基板及其检测裂纹的方法、显示面板。该显示基板具有显示区和边缘区,边缘区围绕于显示区外围;显示基板包括基底和像素电路,像素电路设置于基底上;还包括裂纹检测电路,设置于基底上,且位于边缘区;裂纹检测电路包括开关电路和走线,走线连接开关电路和像素电路并形成回路,用于检测边缘区是否有裂纹。该显示基板,通过设置裂纹检测电路,能方便快捷地检测边缘区是否出现了裂纹,相对于目前通过检测走线电阻的方法来检测裂纹的方法,不仅提高了检测效率,而且能使检测结果更加准确。

图片来源于网络,如有侵权,请联系删除
今年以来京东方A新获得专利授权1837个,较去年同期增加了3.55%。结合公司2024年年报财务数据,2024年公司在研发方面投入了131.23亿元,同比增15.94%。
数据来源:天眼查APP
以上内容为证券之星据公开信息整理,由AI算法生成(网信算备310104345710301240019号),不构成投资建议。
目录 返回
首页
