盈动财经

孚能科技获得实用新型专利授权:“用于软包电池的加压装置”

27 06月
作者:小微|{/foreach}{/if}

证券之星消息,根据天眼查APP数据显示孚能科技(688567)新获得一项实用新型专利授权,专利名为“用于软包电池的加压装置”,专利申请号为CN202421922356.6,授权日为2025年6月27日。

孚能科技获得实用新型专利授权:“用于软包电池的加压装置”
图片来源于网络,如有侵权,请联系删除

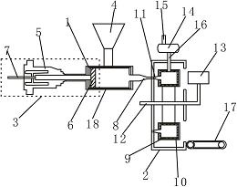
专利摘要:本实用新型涉及锂离子电池加工技术领域,揭示了一种用于软包电池的加压装置,包括:主板和由顶板、垫片及后板层叠而形成的换形板,并且换形板的厚度通过垫片的厚度和/或数量而调节,主板与换形板可拆卸连接。本实用新型将传统的换形板整体优化为顶板、垫片及后板层叠相配合的结构,换形板的厚度由垫片的厚度和/或数量决定,且顶板和后板可拆卸连接;采用改变垫片的厚度和/或数量,以改变换形板地厚度,适用于不同厚度地电芯地加压作业,有利于满足不同厚度地电芯地化成需求,降低了不同规格电芯的生产成本。能够有效的解决现有软包电芯加压装置中,同一换形板所适应的电芯厚度较为单一,导致的电芯生产成本高的技术问题。

今年以来孚能科技新获得专利授权45个,较去年同期减少了16.67%。结合公司2024年年报财务数据,2024年公司在研发方面投入了5.82亿元,同比减22.34%。

通过天眼查大数据分析,孚能科技(赣州)股份有限公司共对外投资了17家企业,参与招投标项目46次;财产线索方面有商标信息129条,专利信息603条,著作权信息2条;此外企业还拥有行政许可31个。

数据来源:天眼查APP

以上内容为证券之星据公开信息整理,由AI算法生成(网信算备310104345710301240019号),不构成投资建议。

浏览49.7k
返回
目录
返回
首页
摩洛哥电信和inwi成立合资公司加快5G部署 债券ETF规模突破3600亿元 利率下行环境下 债券ETF受到投资者欢迎

Copyright © 2024 dw 版权所有

备案号: 蜀ICP备2024051291号-17

盈动财经专业为您提供视野洞察、能源期货、黄金市场、金融市场、财经专题等财经方面资讯,盈动财经是一个专业财经领域资讯服务者。

本站部分内容为转载,不代表本站立场,如有侵权请联系处理。