捷顺科技获得实用新型专利授权:“一种车位锁”
证券之星消息,根据天眼查APP数据显示捷顺科技(002609)新获得一项实用新型专利授权,专利名为“一种车位锁”,专利申请号为CN202422391749.5,授权日为2025年7月15日。

图片来源于网络,如有侵权,请联系删除
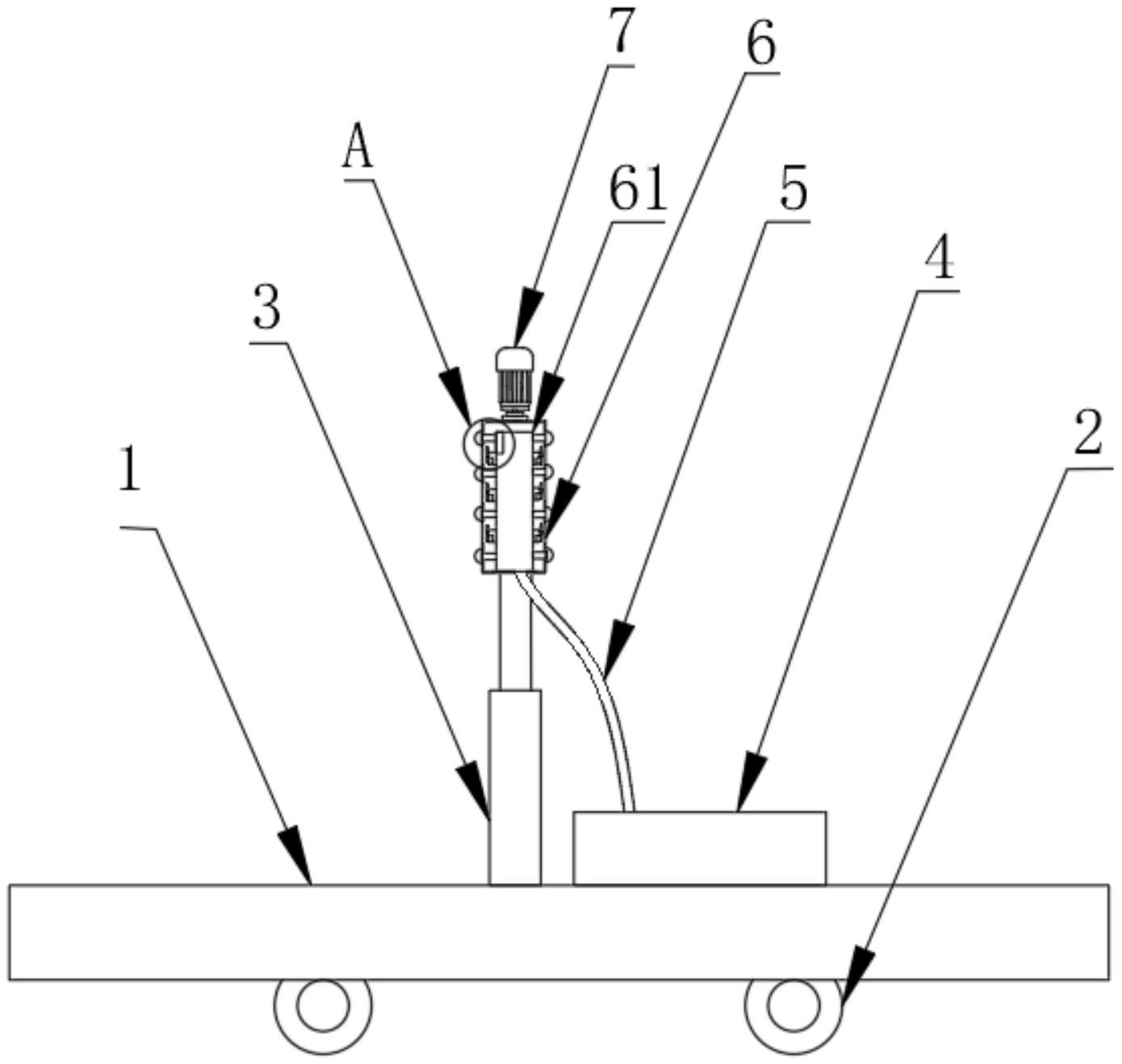
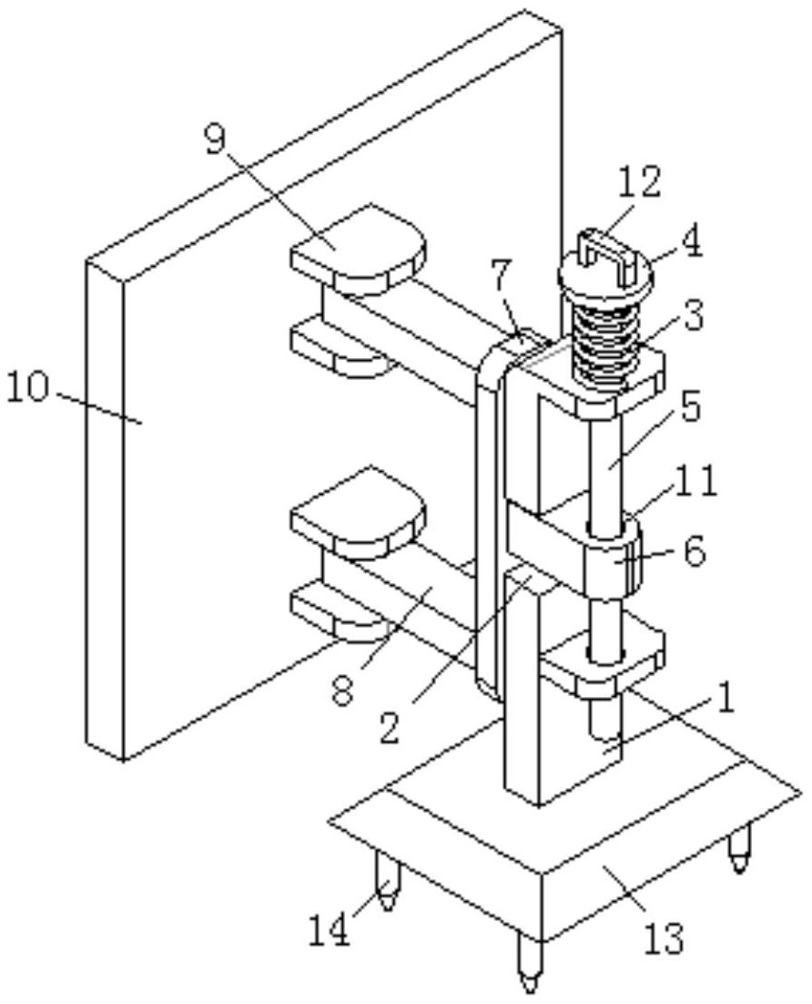
专利摘要:本实用新型提供一种车位锁,涉及车位锁具技术领域,包括:锁座、摆臂和阻挡件。其中,摆臂配置于锁座的侧面,摆臂立起时车位锁处于锁闭状态,放下时车位锁处于开锁状态;阻挡件配置于摆臂远离锁座的一侧,摆臂放下时至少部分位于锁座和阻挡件之间;锁座的靠近摆臂一侧的侧面高度和阻挡件靠近摆臂一侧的侧面高度均高于摆臂放下时的高度。在摆臂放下的开锁状态,当车辆车轮压在车位锁时会压在挡块上,而非压在位于锁座和阻挡件之间的部分摆臂上,如此,可使得该车位锁的摆臂不容易损坏,对摆臂防护效果好。

图片来源于网络,如有侵权,请联系删除
今年以来捷顺科技新获得专利授权28个,较去年同期减少了33.33%。结合公司2024年年报财务数据,2024年公司在研发方面投入了1.17亿元,同比增4.46%。

图片来源于网络,如有侵权,请联系删除
通过天眼查大数据分析,深圳市捷顺科技实业股份有限公司共对外投资了27家企业,参与招投标项目1108次;财产线索方面有商标信息432条,专利信息972条,著作权信息128条;此外企业还拥有行政许可113个。
数据来源:天眼查APP
以上内容为证券之星据公开信息整理,由AI算法生成(网信算备310104345710301240019号),不构成投资建议。
目录 返回
首页
