海尔智家获得发明专利授权:“室外机冷凝器、室外机及变频空调器”
证券之星消息,根据天眼查APP数据显示海尔智家(600690)新获得一项发明专利授权,专利名为“室外机冷凝器、室外机及变频空调器”,专利申请号为CN201910893589.5,授权日为2025年7月18日。

图片来源于网络,如有侵权,请联系删除
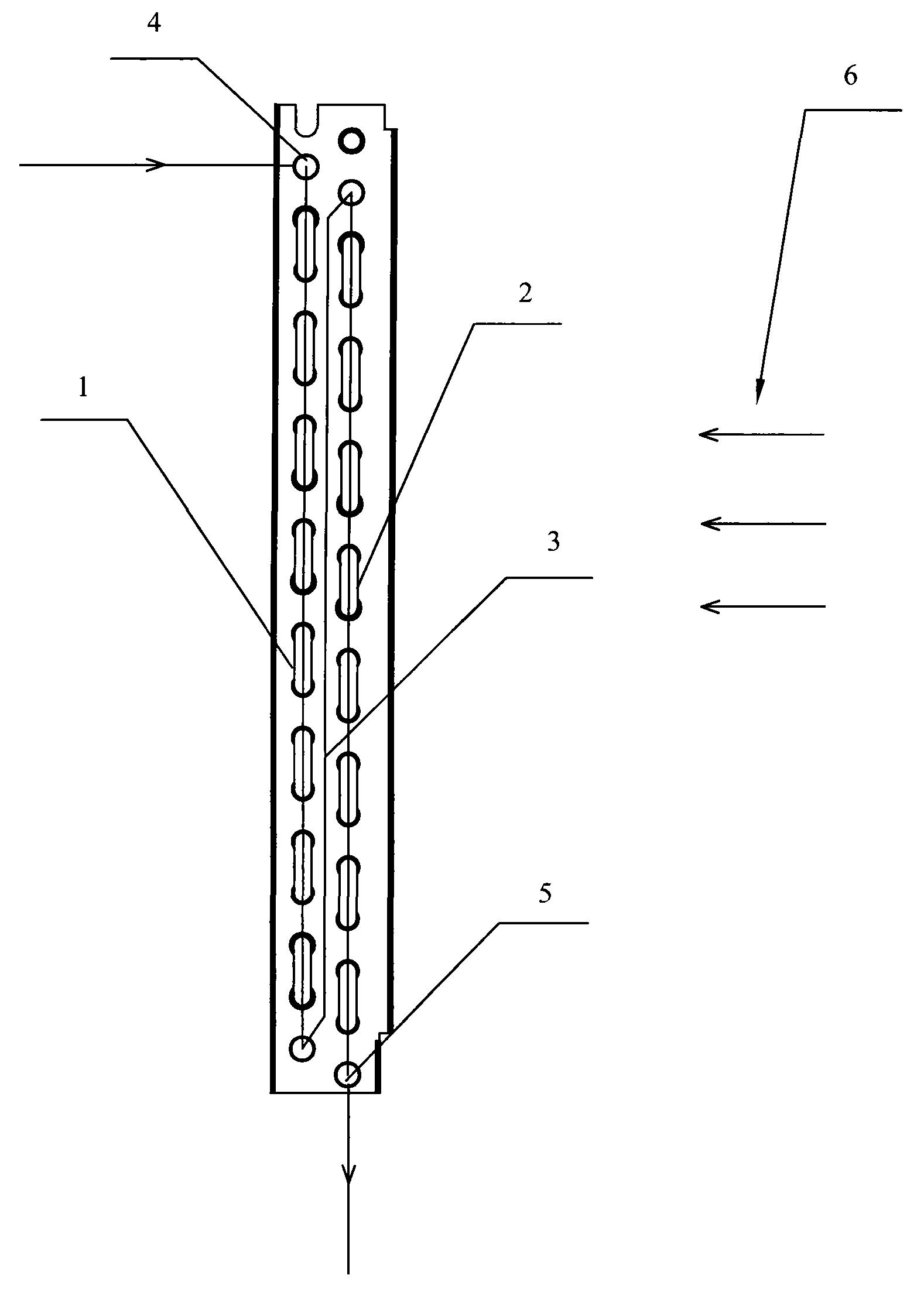
专利摘要:本发明涉及空气调节技术领域,具体涉及一种室外机冷凝器、室外机及变频空调器。本发明旨在解决现有空调器存在的制热效率低的问题。为此目的,本发明的室外机冷凝器包括换热管段、过冷管段、节流元件、过冷连接管和若干个过冷阀,过冷管段的第一端能够通过主毛细管与室内机蒸发器连接,过冷管段的第一端与第二端之间被若干个过冷阀分隔为n个过冷区间,若干个过冷区间各自通过一过冷连接管与节流元件的第一端连接,节流元件的第二端与换热管段连接,其中能够通过控制每个过冷阀的开闭调节过冷管段的有效长度。上述设置方式能够提高制热能效,抑制结霜。

图片来源于网络,如有侵权,请联系删除
今年以来海尔智家新获得专利授权3081个,较去年同期减少了18.28%。结合公司2024年年报财务数据,2024年公司在研发方面投入了107.4亿元,同比增3.47%。
通过天眼查大数据分析,海尔智家股份有限公司共对外投资了58家企业,参与招投标项目1691次;财产线索方面有商标信息357条,专利信息63029条,著作权信息53条;此外企业还拥有行政许可10个。
数据来源:天眼查APP
以上内容为证券之星据公开信息整理,由AI算法生成(网信算备310104345710301240019号),不构成投资建议。
目录 返回
首页
