格力电器获得发明专利授权:“一种曲轴、涡旋压缩机及空调器”
证券之星消息,根据天眼查APP数据显示格力电器(000651)新获得一项发明专利授权,专利名为“一种曲轴、涡旋压缩机及空调器”,专利申请号为CN202211078245.7,授权日为2025年7月18日。

图片来源于网络,如有侵权,请联系删除
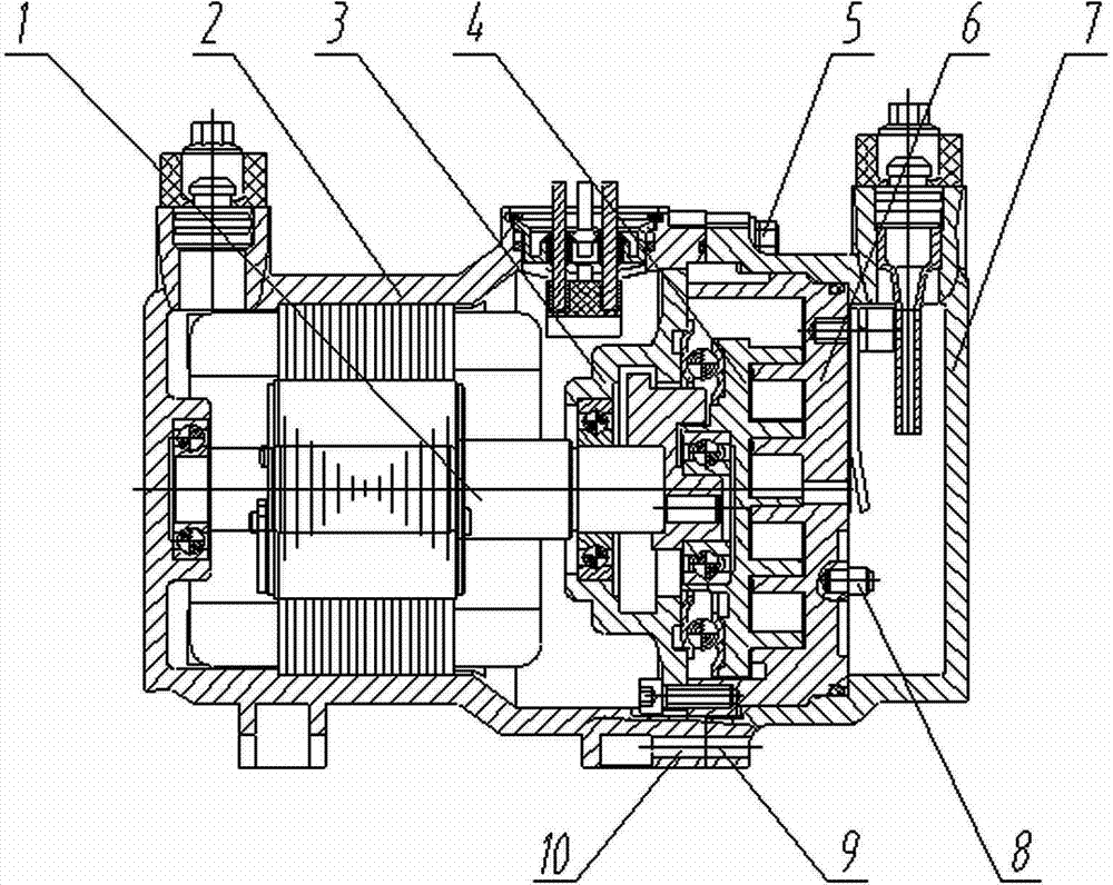
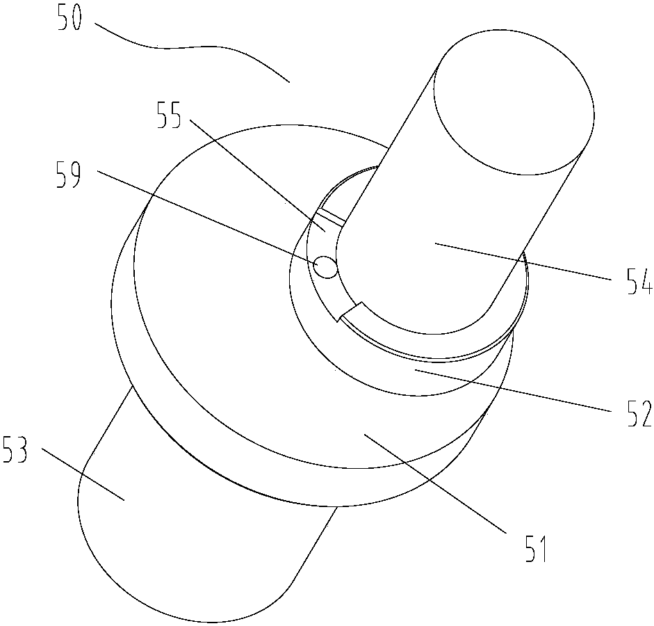
专利摘要:本发明提供一种曲轴、涡旋压缩机及空调器,曲轴包括设置于曲轴内的回油孔,曲轴的侧壁上设有分别与回油孔连通的回气孔和副轴承回油孔,回油孔上设置有多孔介质,且多孔介质覆盖回气孔,经多孔介质分离的气体能够流经回气孔排出,经多孔介质分离的润滑油能够通过副轴承回油孔对待润滑结构润滑。解决了现有技术中涡旋压缩机在同时进行背压调节和回油时,无法进行油气分离,回油效果不稳定的问题。

图片来源于网络,如有侵权,请联系删除
今年以来格力电器新获得专利授权3678个,较去年同期减少了5.16%。结合公司2024年年报财务数据,2024年公司在研发方面投入了69.04亿元,同比增2.1%。
通过天眼查大数据分析,珠海格力电器股份有限公司共对外投资了101家企业,参与招投标项目27988次;财产线索方面有商标信息8135条,专利信息115189条,著作权信息297条;此外企业还拥有行政许可827个。
数据来源:天眼查APP
以上内容为证券之星据公开信息整理,由AI算法生成(网信算备310104345710301240019号),不构成投资建议。
目录 返回
首页
