晶科能源获得实用新型专利授权:“一种光伏装置”
证券之星消息,根据天眼查APP数据显示晶科能源(688223)新获得一项实用新型专利授权,专利名为“一种光伏装置”,专利申请号为CN202420781857.0,授权日为2025年7月25日。

图片来源于网络,如有侵权,请联系删除
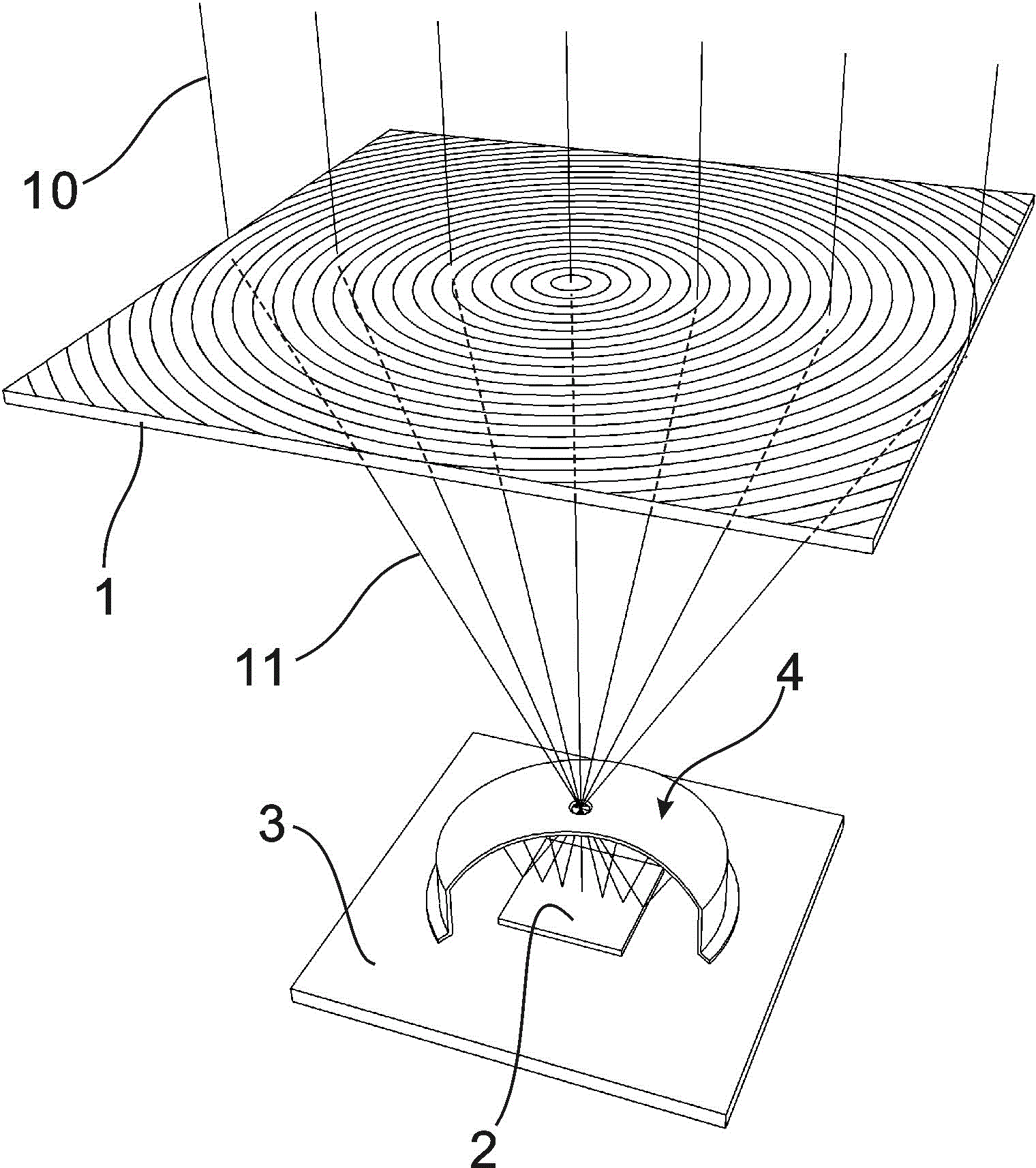
专利摘要:本申请涉及太阳能发电领域,公开了一种光伏装置,包括:光伏组件,光伏组件具有正面和背面;支架,支架为圆柱形,光伏组件的背面与支架固定;接线盒,接线盒位于光伏组件和支架之间,接线盒包括相对设置的第一表面和第二表面,接线盒的第一表面与光伏组件的背面相固定,接线盒的第二表面位于接线盒靠近支架的一侧,接线盒的第二表面朝向远离支架的方向弯曲。本申请有效减小接线盒与光伏组件的局部应力,提升支架的荷载能力。

图片来源于网络,如有侵权,请联系删除
今年以来晶科能源新获得专利授权41个,较去年同期减少了57.29%。结合公司2024年年报财务数据,2024年公司在研发方面投入了7.19亿元,同比减54.4%。

图片来源于网络,如有侵权,请联系删除
通过天眼查大数据分析,晶科能源股份有限公司共对外投资了53家企业,参与招投标项目1564次;财产线索方面有商标信息887条,专利信息2678条,著作权信息3条;此外企业还拥有行政许可71个。
数据来源:天眼查APP
以上内容为证券之星据公开信息整理,由AI算法生成(网信算备310104345710301240019号),不构成投资建议。
目录 返回
首页
