歌尔股份获得发明专利授权:“发声装置的振膜的制备方法、振膜、发声装置”
证券之星消息,根据天眼查APP数据显示歌尔股份(002241)新获得一项发明专利授权,专利名为“发声装置的振膜的制备方法、振膜、发声装置”,专利申请号为CN202111446718.X,授权日为2025年7月25日。

图片来源于网络,如有侵权,请联系删除
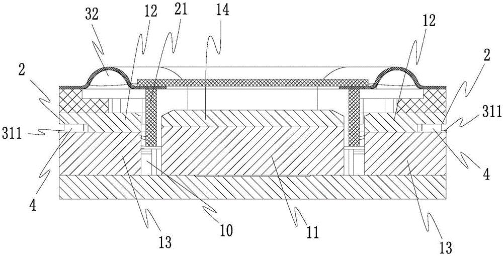
专利摘要:本申请公开了一种发声装置的振膜的制备方法、振膜、发声装置,发声装置的振膜的制备方法,包括以下步骤:将固态聚氨酯生胶、硫化剂、硫化促进剂、防老化助剂、填料、其它助剂与溶剂反应,制备得到固含量为15%~45%的混合浆料;将所述混合浆料涂布成预定厚度的薄膜,经过加热并使溶剂挥发后,形成预设厚度的聚氨酯橡胶膜,所述聚氨酯橡胶膜的拉伸强度σ满足关系式:0.1MPa≤σ≤15MPa;将所述聚氨酯橡胶膜置于热成型机的模具上,经热压交联成型为预定形状的振膜。本申请的振膜的制备方法,操作方便,不仅能够节约振膜的生产成本,还可以解决振膜模压成型时固化引起的收缩问题,制备的振膜具有良好的尺寸稳定性和声学性能。

图片来源于网络,如有侵权,请联系删除
今年以来歌尔股份新获得专利授权284个,较去年同期减少了20.89%。结合公司2024年年报财务数据,2024年公司在研发方面投入了48.82亿元,同比增3.52%。

图片来源于网络,如有侵权,请联系删除
通过天眼查大数据分析,歌尔股份有限公司共对外投资了42家企业,参与招投标项目238次;财产线索方面有商标信息171条,专利信息9771条,著作权信息41条;此外企业还拥有行政许可618个。
数据来源:天眼查APP
以上内容为证券之星据公开信息整理,由AI算法生成(网信算备310104345710301240019号),不构成投资建议。
目录 返回
首页
