双良节能获得实用新型专利授权:“一种换热管与管板焊接处的隔热装置”
证券之星消息,根据天眼查APP数据显示双良节能(600481)新获得一项实用新型专利授权,专利名为“一种换热管与管板焊接处的隔热装置”,专利申请号为CN202422409591.X,授权日为2025年8月1日。

图片来源于网络,如有侵权,请联系删除
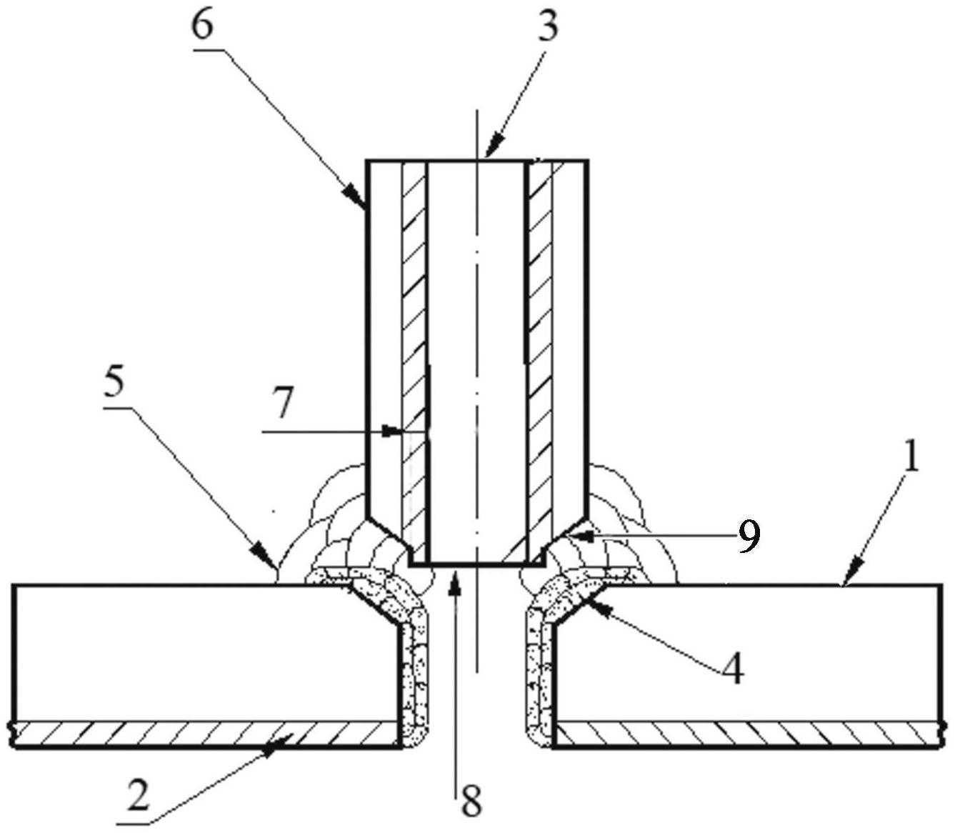
专利摘要:本实用新型涉及一种换热管与管板焊接处的隔热装置,包括管板、换热管、硅酸钙保温板、不锈钢压板、不锈钢防松套管和不锈钢螺栓,所述管板与换热管焊接,管板外设有硅酸钙保温板,所述硅酸钙保温板外设有不锈钢压板,所述不锈钢压板、硅酸钙保温板和管板通过不锈钢螺栓连接,所述不锈钢防松套管依次穿过不锈钢压板、硅酸钙保温板后插入换热管内。本实用新型有效地避免换热管与管板的焊接接头与低温介质直接接触,避免焊接接头出现冷热应力的交变,有效提高换热器的性能和使用寿命。

图片来源于网络,如有侵权,请联系删除
今年以来双良节能新获得专利授权14个,较去年同期减少了74.55%。结合公司2024年年报财务数据,2024年公司在研发方面投入了2.61亿元,同比减37.35%。
通过天眼查大数据分析,双良节能系统股份有限公司共对外投资了14家企业,参与招投标项目1369次;财产线索方面有商标信息16条,专利信息819条,著作权信息21条;此外企业还拥有行政许可64个。
数据来源:天眼查APP
以上内容为证券之星据公开信息整理,由AI算法生成(网信算备310104345710301240019号),不构成投资建议。
目录 返回
首页
