京东方A获得发明专利授权:“薄膜晶体管液晶显示面板及其制备方法”
证券之星消息,根据天眼查APP数据显示京东方A(000725)新获得一项发明专利授权,专利名为“薄膜晶体管液晶显示面板及其制备方法”,专利申请号为CN202010110578.8,授权日为2025年7月29日。

图片来源于网络,如有侵权,请联系删除
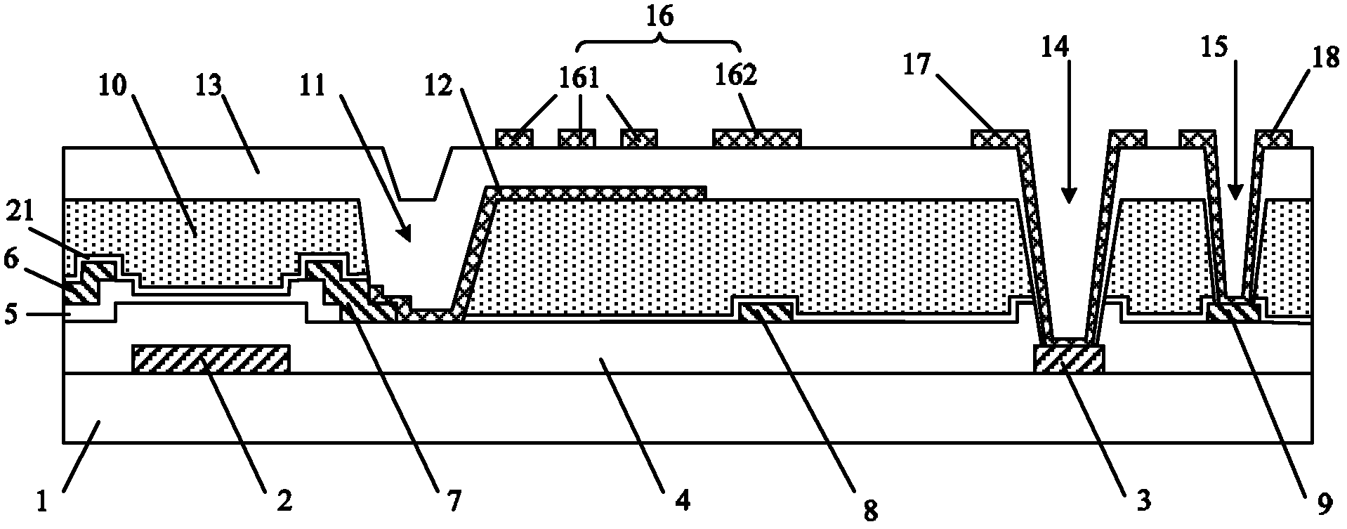
专利摘要:本公开提供一种薄膜晶体管液晶显示面板及其制备方法。该显示面板具有阵列基板、对向基板和封框胶,并且包括衬底层、第一钝化保护层、有机膜层、第二钝化保护层,其中第二钝化保护层在衬底上的正投影延伸至封框胶外的外部区,并且显示面板还包括隔水层,其覆盖第二钝化保护层的在衬底层上的正投影在外部区中的部分,使得第二钝化保护层不与显示面板的外部环境接触。本公开提供的薄膜晶体管液晶显示面板,可以在防止有机膜排气影响TFT性能的同时,保证显示面板在严苛状态下的防水性。

图片来源于网络,如有侵权,请联系删除
今年以来京东方A新获得专利授权2280个,较去年同期增加了1.29%。结合公司2024年年报财务数据,2024年公司在研发方面投入了131.23亿元,同比增15.94%。
数据来源:天眼查APP
以上内容为证券之星据公开信息整理,由AI算法生成(网信算备310104345710301240019号),不构成投资建议。
目录 返回
首页
