盈动财经

中国广核获得发明专利授权:“核反应堆的优化方法、装置、计算机设备和存储介质”

09 08月
作者:小微|{/foreach}{/if}

证券之星消息,根据天眼查APP数据显示中国广核(003816)新获得一项发明专利授权,专利名为“核反应堆的优化方法、装置、计算机设备和存储介质”,专利申请号为CN202310131255.0,授权日为2025年8月8日。

中国广核获得发明专利授权:“核反应堆的优化方法、装置、计算机设备和存储介质”
图片来源于网络,如有侵权,请联系删除

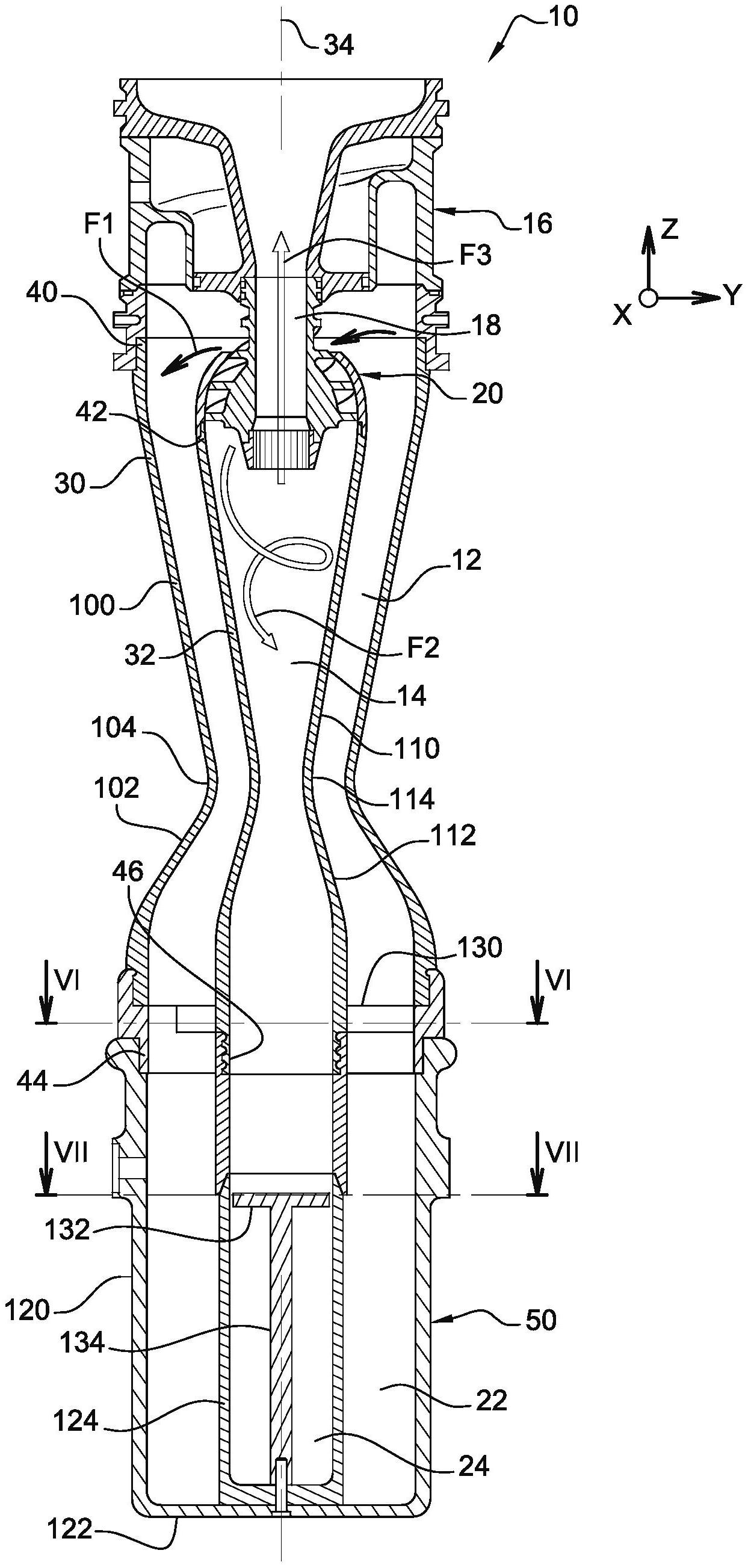
专利摘要:本申请涉及一种核反应堆的优化方法、装置、计算机设备和存储介质。所述方法包括:根据对核反应堆的优化需求,构建第一目标函数;根据中间特征变量与优化参数之间的函数关系,以及第一目标函数,构建包括中间特征变量的第二目标函数;根据核反应堆的候选设计方案,对第二目标函数进行概率建模,得到第二目标函数的概率分布;根据概率分布和优化需求,确定优化参数的目标取值。采用本方法通过引入中间特征变量,将针对优化参数的第一目标函数分解为中间特征变量与优化参数之间的函数关系和针对中间特征变量的第二目标函数两个相对简单的优化问题,达到了缩短优化时间,减小计算量的效果。

中国广核获得发明专利授权:“核反应堆的优化方法、装置、计算机设备和存储介质”
图片来源于网络,如有侵权,请联系删除

今年以来中国广核新获得专利授权227个,较去年同期减少了35.51%。结合公司2024年年报财务数据,2024年公司在研发方面投入了24.43亿元,同比增0.96%。

中国广核获得发明专利授权:“核反应堆的优化方法、装置、计算机设备和存储介质”
图片来源于网络,如有侵权,请联系删除

通过天眼查大数据分析,中国广核电力股份有限公司共对外投资了31家企业,参与招投标项目373次;财产线索方面有专利信息7406条,著作权信息853条;此外企业还拥有行政许可14个。

数据来源:天眼查APP

以上内容为证券之星据公开信息整理,由AI算法生成(网信算备310104345710301240019号),不构成投资建议。

浏览41.5k
返回
目录
返回
首页
逆袭!创十年新高 这类基金表现亮眼 国家电网公司发行100亿元境外人民币债券

Copyright © 2024 dw 版权所有

备案号: 蜀ICP备2024051291号-17

盈动财经专业为您提供视野洞察、能源期货、黄金市场、金融市场、财经专题等财经方面资讯,盈动财经是一个专业财经领域资讯服务者。

本站部分内容为转载,不代表本站立场,如有侵权请联系处理。