潍柴动力获得实用新型专利授权:“防喘振阀”
证券之星消息,根据天眼查APP数据显示潍柴动力(000338)新获得一项实用新型专利授权,专利名为“防喘振阀”,专利申请号为CN202422574225.X,授权日为2025年9月5日。

图片来源于网络,如有侵权,请联系删除
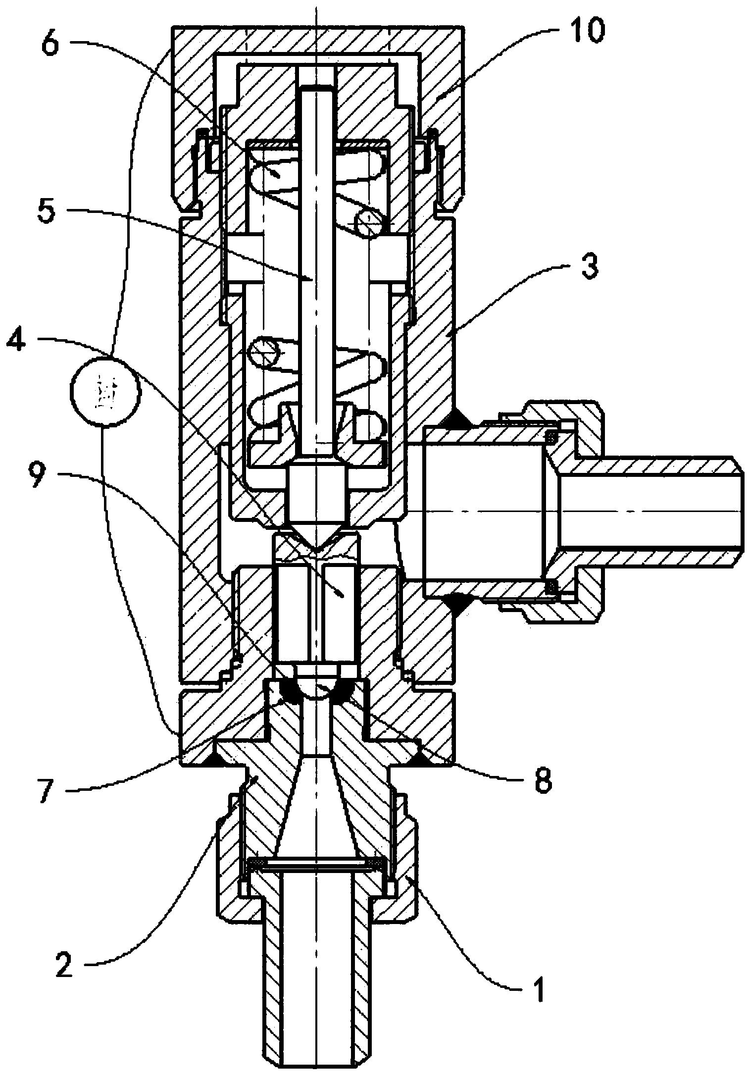
专利摘要:本实用新型涉及发动机技术领域,尤指一种防喘振阀。防喘振阀包括阀体和阀芯组件,阀体具有空腔,以及与空腔连通的进气口和泄压口,进气口设置于阀体的底壁,泄压口设置于阀体的侧壁;阀芯组件包括底座、第一弹性件和第二弹性件,底座可滑动地设置于空腔,底座将空腔分隔为第一腔体和第二腔体,第一腔体与进气口连通,第一弹性件和第二弹性件均设置于第二腔体中,第一弹性件的一端和第二弹性件的一端均设置于第二腔体远离第一腔体的一侧,第一弹性件的另一端与底座连接,其中,当阀芯组件处于初始状态时,第二弹性件的另一端与底座之间存在间隙。本申请中的能够降低阀芯对阀座的冲击,还能够快速的泄压。
今年以来潍柴动力新获得专利授权657个,较去年同期减少了25.17%。结合公司2025年中报财务数据,今年上半年公司在研发方面投入了41.35亿元,同比减3.86%。
通过天眼查大数据分析,潍柴动力股份有限公司共对外投资了64家企业,参与招投标项目12711次;财产线索方面有商标信息1220条,专利信息15613条,著作权信息655条;此外企业还拥有行政许可774个。
数据来源:天眼查APP
以上内容为证券之星据公开信息整理,由AI算法生成(网信算备310104345710301240019号),不构成投资建议。
目录 返回
首页
