欣锐科技获得实用新型专利授权:“测试连接器”
证券之星消息,根据天眼查APP数据显示欣锐科技(300745)新获得一项实用新型专利授权,专利名为“测试连接器”,专利申请号为CN202422974743.0,授权日为2025年10月24日。

图片来源于网络,如有侵权,请联系删除
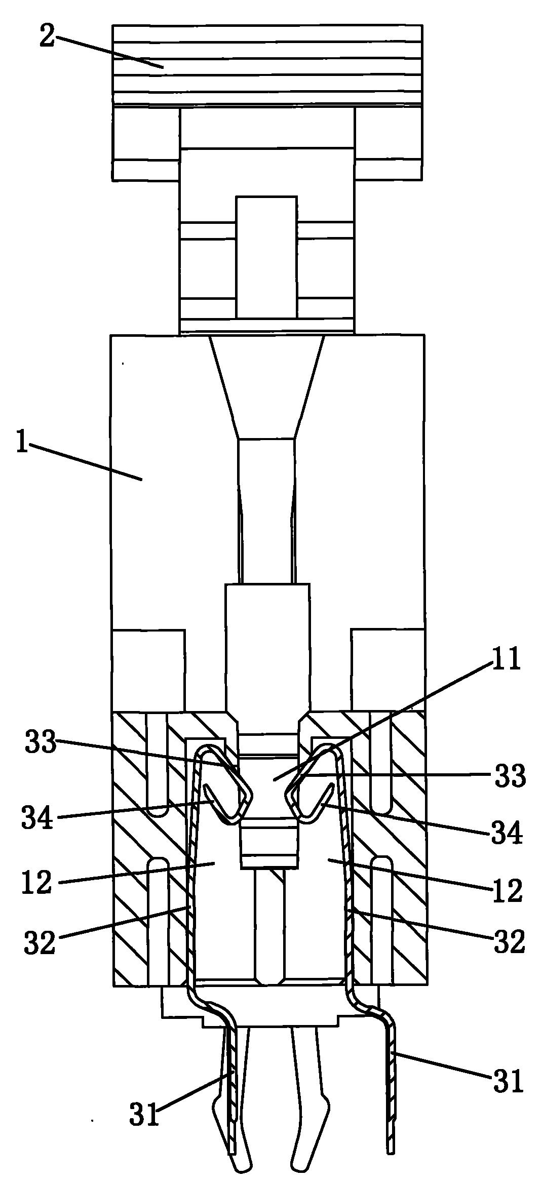
专利摘要:本申请提供一种测试连接器,所述测试连接器包括连接管、第一密封件、压管及推拉组件。其中,所述连接管限定收容腔,所述连接管包括相背设置的第一端及第二端,所述第一端具有限位面,所述限位面朝向所述收容腔。所述第一密封件收容于所述收容腔,且被限位于所述限位面。所述压管收容于所述收容腔,且所述压管靠近所述第一密封件设置。所述推拉组件连接所述压管,且所述推拉组件密封连接所述第二端,所述推拉组件用于带动所述压管在所述收容腔内滑动挤压所述第一密封件,使得所述第一密封件的径向尺寸增大。本申请提供的测试连接器可以实现快速、高效地测试线束的气密性。

图片来源于网络,如有侵权,请联系删除
今年以来欣锐科技新获得专利授权34个,较去年同期减少了22.73%。结合公司2025年中报财务数据,今年上半年公司在研发方面投入了1.05亿元,同比增44.31%。
通过天眼查大数据分析,深圳欣锐科技股份有限公司共对外投资了11家企业,参与招投标项目10次;财产线索方面有商标信息66条,专利信息855条,著作权信息417条;此外企业还拥有行政许可15个。
数据来源:天眼查APP
以上内容为证券之星据公开信息整理,由AI算法生成(网信算备310104345710301240019号),不构成投资建议。
目录 返回
首页
