中国石油获得发明专利授权:“页岩储层开采中二氧化碳储存和注入装置及其使用方法”
证券之星消息,根据天眼查APP数据显示中国石油(601857)新获得一项发明专利授权,专利名为“页岩储层开采中二氧化碳储存和注入装置及其使用方法”,专利申请号为CN202310664271.6,授权日为2025年11月7日。

图片来源于网络,如有侵权,请联系删除
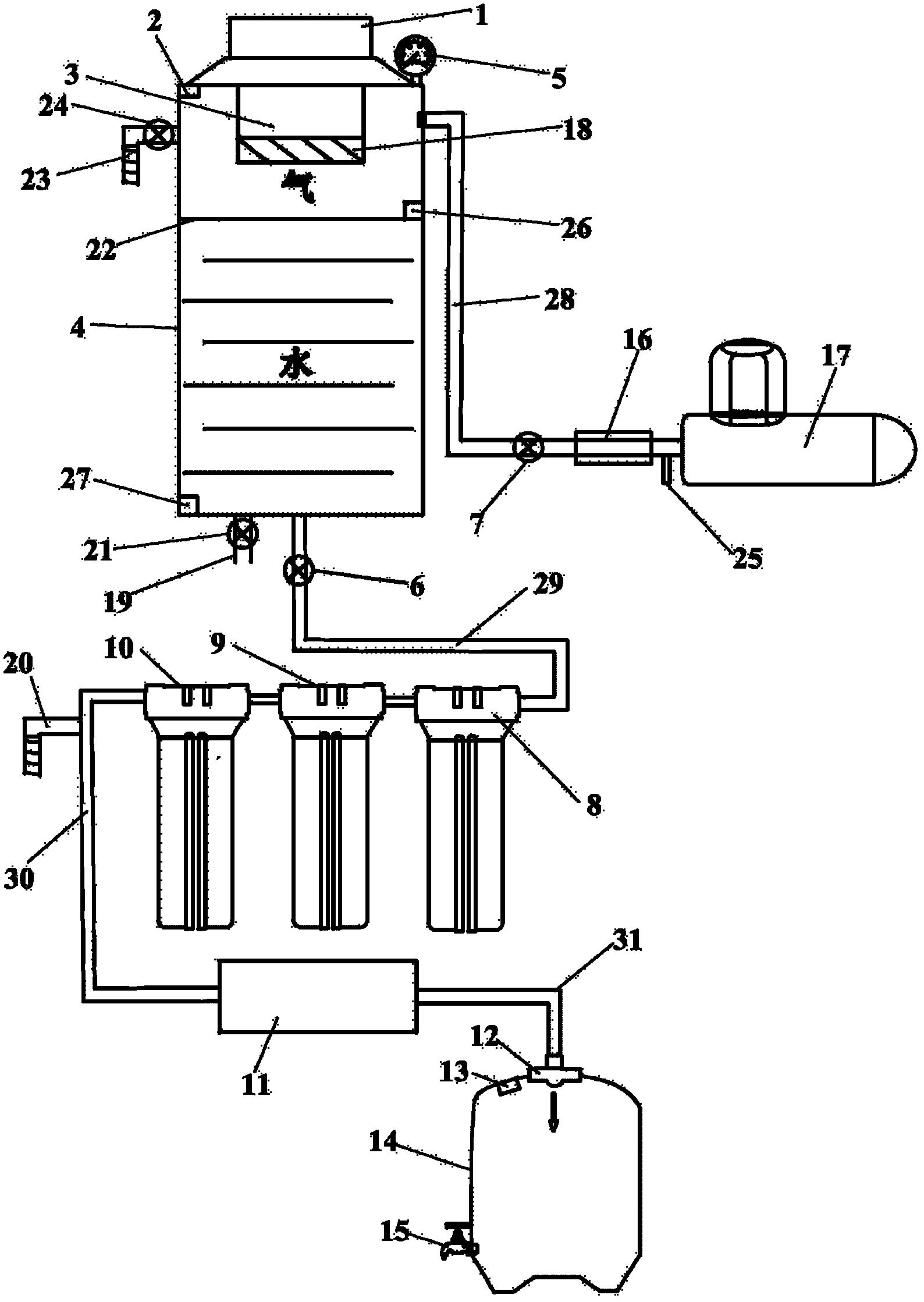
专利摘要:本发明公开了一种页岩储层开采中二氧化碳储存和注入装置及其使用方法,属于页岩油气开发技术领域,为了解决在页岩储层开采中二氧化碳在储存与注入时容易受到外界环境温度影响的问题,所述页岩储层开采中二氧化碳储存和注入装置包括二氧化碳储罐(1)、屏蔽泵(2)和柱塞泵(3),二氧化碳储罐(1)和屏蔽泵(2)之间通过传输管道连接,屏蔽泵(2)和柱塞泵(3)之间也通过传输管道连接,柱塞泵出口(17)外也连接有所述传输管道,所述传输管道外套设有调温结构。所述页岩储层开采中二氧化碳储存和注入装置能够传输管道内的温度,以此保证二氧化碳在传输管道在传送时的稳定性和低温液态,提高现场施工的成功率。

图片来源于网络,如有侵权,请联系删除
今年以来中国石油新获得专利授权1608个,较去年同期减少了8.9%。结合公司2025年中报财务数据,今年上半年公司在研发方面投入了98.99亿元,同比增2.51%。
通过天眼查大数据分析,中国石油天然气股份有限公司共对外投资了1291家企业,参与招投标项目443次;财产线索方面有商标信息107条,专利信息47196条;此外企业还拥有行政许可168个。
数据来源:天眼查APP
以上内容为证券之星据公开信息整理,由AI算法生成(网信算备310104345710301240019号),不构成投资建议。
目录 返回
首页
