远东传动获得实用新型专利授权:“一种传动轴凸缘叉钻孔夹具”
证券之星消息,根据天眼查APP数据显示远东传动(002406)新获得一项实用新型专利授权,专利名为“一种传动轴凸缘叉钻孔夹具”,专利申请号为CN202422833668.6,授权日为2025年11月14日。

图片来源于网络,如有侵权,请联系删除
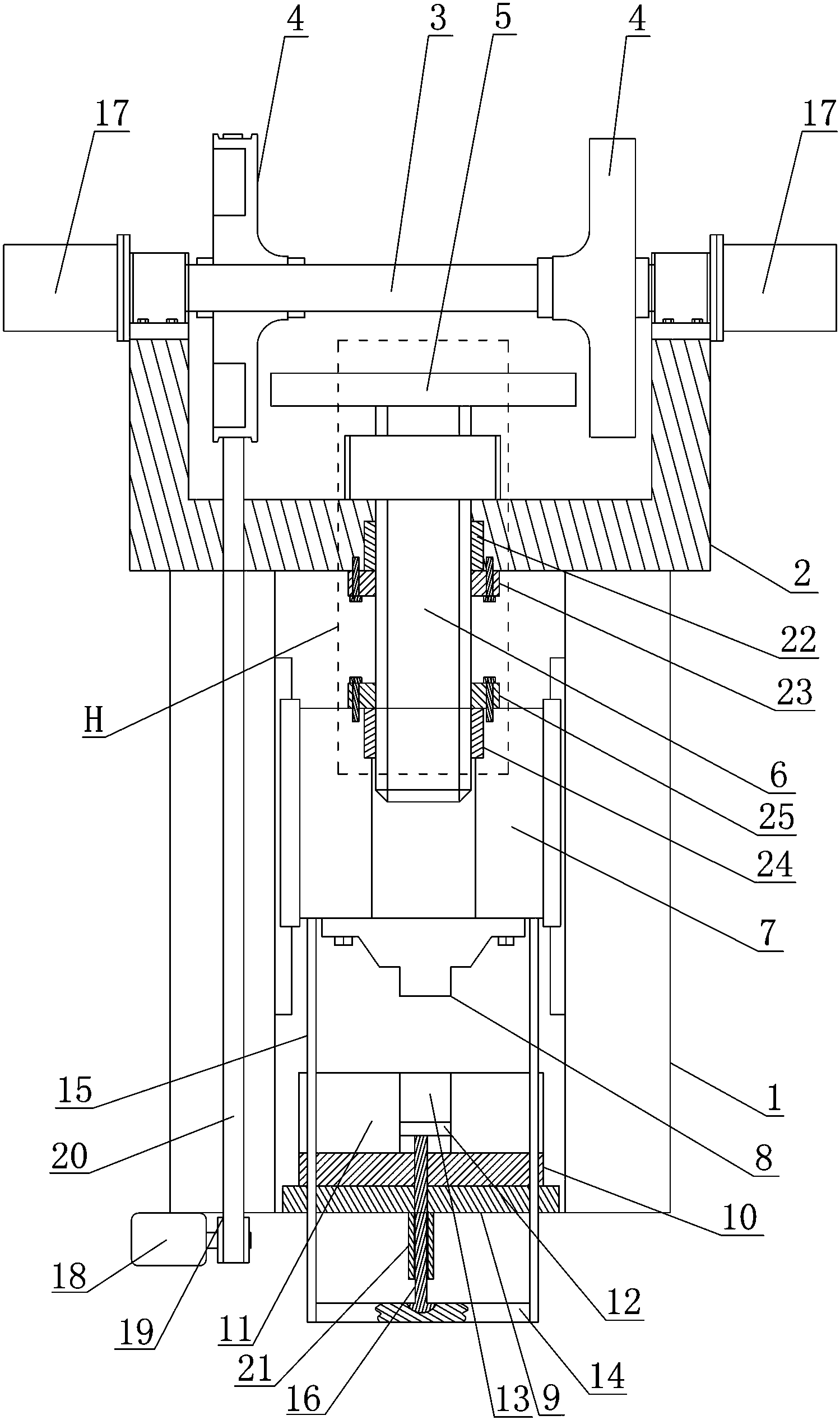
专利摘要:本申请涉及一种传动轴凸缘叉钻孔夹具,包括底座、压板和升降机构,底座呈倒U形且包括水平部和位于水平部两端的竖直部,升降机构设置在水平部下端,水平部上端设有用于支撑凸缘叉凸耳的V形块和用于支撑凸缘叉法兰盘的支撑组件;压板下端竖直设有两个滑动贯穿水平部的拉杆,两个拉杆之间设有连接板,升降机构用于带动连接板上下移动,压板下端设有钻模板,钻模板上设有用于钻孔的钻套,压板上设有与钻套同轴设置的通孔。本申请夹紧速度快,夹紧效果好,无需人工手动夹紧,工人劳动强度小。

图片来源于网络,如有侵权,请联系删除
今年以来远东传动新获得专利授权14个,较去年同期减少了30%。结合公司2025年中报财务数据,今年上半年公司在研发方面投入了4020.25万元,同比增12.99%。

图片来源于网络,如有侵权,请联系删除
通过天眼查大数据分析,许昌远东传动轴股份有限公司共对外投资了13家企业,参与招投标项目42次;财产线索方面有商标信息10条,专利信息415条,著作权信息4条;此外企业还拥有行政许可60个。
数据来源:天眼查APP
以上内容为证券之星据公开信息整理,由AI算法生成(网信算备310104345710301240019号),不构成投资建议。
目录 返回
首页
