中国石油获得发明专利授权:“一种催化裂化助剂及其制备方法”
证券之星消息,根据天眼查APP数据显示中国石油(601857)新获得一项发明专利授权,专利名为“一种催化裂化助剂及其制备方法”,专利申请号为CN202311423629.2,授权日为2026年1月23日。

图片来源于网络,如有侵权,请联系删除
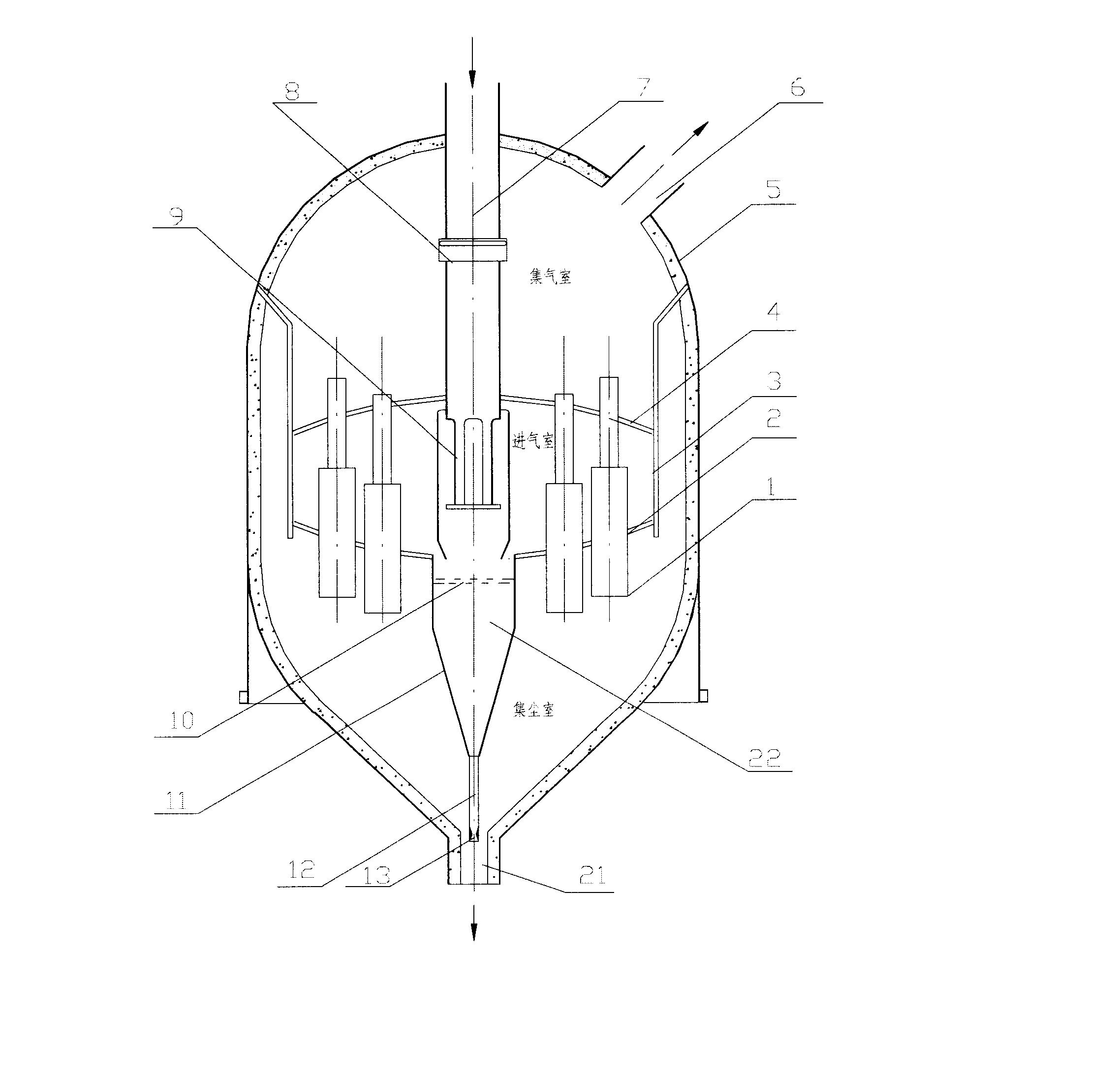
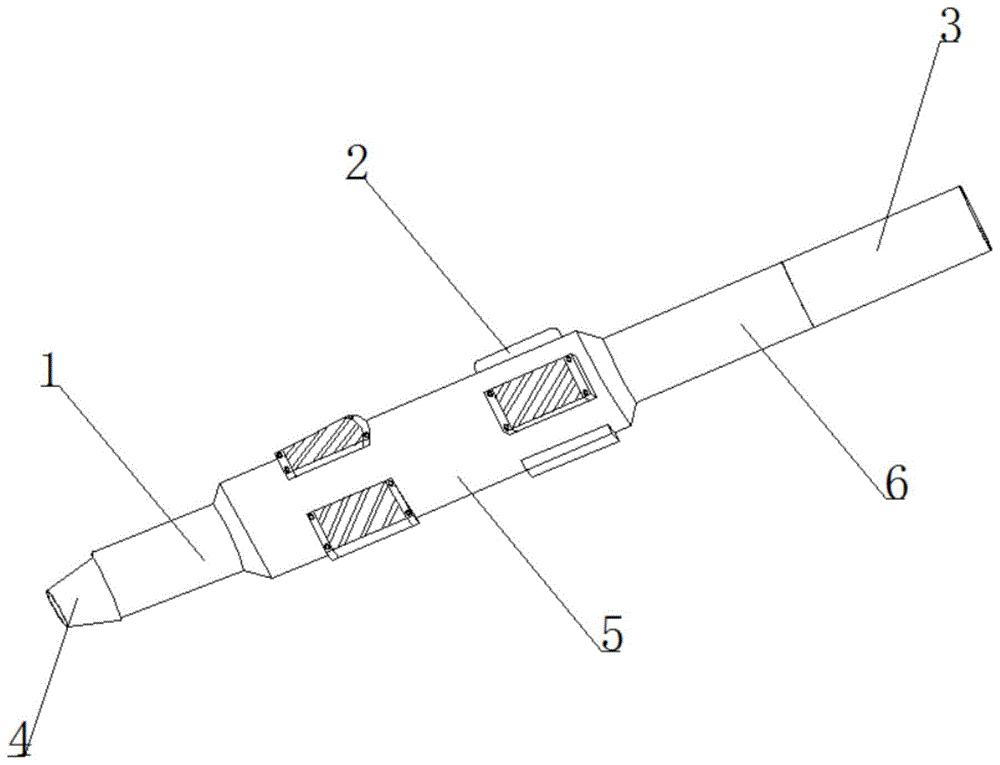
专利摘要:本发明提供了一种催化裂化助剂及其制备方法,该催化裂化助剂的组成包含:15?55%以干基计的ZSM?5分子筛、0?55%以干基计的粘土、1?15%以干基计的氧化铝纳米纤维、1?10%以干基计的片状磷酸铝、4?70%以干基计的含钛复合粘结剂、0?10%以氧化物计的粘结剂、5?20%以氧化物计的磷和0?5%以氧化物计的改性金属化合物;其中,所述含钛复合粘结剂的制备利用了聚丙烯催化剂制备过程中产生的含四氯化钛的废液。该催化裂化助剂能够促进催化裂化过程中重油的转化,在多产乙烯/丙烯等低碳烯烃的同时,提高总液收(液化气+汽油+柴油),降低生焦,具有优良的裂化反应选择性和使用性能。

图片来源于网络,如有侵权,请联系删除
今年以来中国石油新获得专利授权152个,较去年同期增加了210.2%。结合公司2025年中报财务数据,2025上半年公司在研发方面投入了98.99亿元,同比增2.51%。

图片来源于网络,如有侵权,请联系删除
通过天眼查大数据分析,中国石油天然气股份有限公司共对外投资了1297家企业,参与招投标项目443次;财产线索方面有商标信息105条,专利信息48144条;此外企业还拥有行政许可168个。
数据来源:天眼查APP
以上内容为证券之星据公开信息整理,由AI算法生成(网信算备310104345710301240019号),不构成投资建议。
目录 返回
首页
