洁雅股份获得实用新型专利授权:“一种用于湿纸巾生产的重量监测机构”
证券之星消息,根据天眼查APP数据显示洁雅股份(301108)新获得一项实用新型专利授权,专利名为“一种用于湿纸巾生产的重量监测机构”,专利申请号为CN202520615865.2,授权日为2026年4月7日。

图片来源于网络,如有侵权,请联系删除
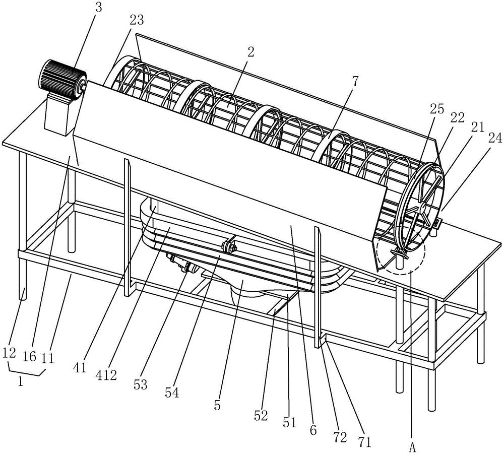
专利摘要:本实用新型涉及湿纸巾生产设备技术领域,具体为一种用于湿纸巾生产的重量监测机构,包括外壳;外壳内部设有称重机构,称重机构上方设有输送机构;称重机构包括称重板,称重板转动连接在外壳内部中间,称重板侧面滑动连接有配重块,配重块上啮合连接有紧固螺栓。设置的旋转式的称重板可以利用配重块与湿纸巾之间的重量比对,对合格品以及瑕疵品进行自动校验,同时转动的称重板可以通过不同方向的转动对合格品以及瑕疵品进行自动分离,从而提升对湿纸巾的重量检测效率。设置的调节式结构的配重块可以方便操作人员对配重块的位置进行调节,进而对配重块一侧的力臂进行调节,使称重板可以适应不同重量的检测操作,从而适应不同型号湿纸巾的生产需求。

图片来源于网络,如有侵权,请联系删除
今年以来洁雅股份新获得专利授权5个,较去年同期增加了400%。结合公司2025年中报财务数据,2025上半年公司在研发方面投入了1114.51万元,同比增11.84%。
通过天眼查大数据分析,铜陵洁雅生物科技股份有限公司共对外投资了6家企业,参与招投标项目50次;财产线索方面有商标信息102条,专利信息152条,著作权信息2条;此外企业还拥有行政许可64个。
数据来源:天眼查APP
以上内容为证券之星据公开信息整理,由AI算法生成(网信算备310104345710301240019号),不构成投资建议。
目录 返回
首页
